Overview
There are two main wheel and tire assemblies installed on each of the two main landing gear (MLG) axles. The main wheel and tire assembly has an interface with the Brake Unit.
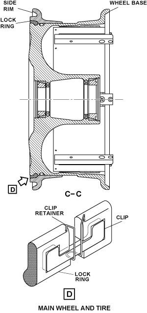
Main Wheel and Tire
The main wheel is a lock-ring type assembly made of forged aluminum. The wheel has a wheel base assembly and a side rim. Six inserts, installed above the drive lugs in the wheel base, engage with the drive slots in the brake disks. The inserts turn the brake disks as the wheel turns. A one-piece heat shield is installed in the wheel base.
A tubeless-tire inflation valve is installed in the wheel base. An overinflation plug is installed 120 degrees from the inflation valve. The overinflation plug will break at a pressure of 375 - 450 psi (2,585.47 - 3,102.57 kPa) and deflate the tire if the tire is overinflated. When the overinflation plug breaks, the wheel and tire assembly will need to be removed completely for repair.
A plug is installed in the wheel base 120 degrees from the overinflation plug. The plug can be removed for the installation of a pressure gauge.
Three equally spaced thermal relief plugs are installed in the drive lugs of the wheel base assembly. Each thermal relief plug has a fusible metal core that melts at a temperature of 415 - 435° F (212.95 - 224.07° C). This will release the tire pressure if the wheel is in an overheat condition.
The wheel base assembly and the side rim are attached together with a lock ring. The lock ring is held together by a lock ring clip and clip retainer. The tire is a radial 14 ply tubeless tire which is 26.5 in high by 8.0 in wide. The main tire is inflated with nitrogen to a pressure of 150 - 157 psi (1,034.19 - 1,082.45 kPa).
System Operation
A main wheel and tire assembly is installed on the MLG axles which lets the aircraft be towed and taxied. The wheel and tire assembly transmits brake torque from the brake unit to the ground, which decreases speed or stops the movement of the aircraft.
Inserts that are installed in the wheel base engage the rotor disk in the brake unit. While the wheel and tire assembly turns the rotor disk in the brake unit also turns. When pressure is applied to the brake unit, the rotor disk is held between parts that do not turn. Friction caused by the held parts, against the rotor disk, decreases the speed of the wheel and tire assembly until the aircraft stops.
10/20/20
Component Location Index
| Component Location Index | |||
|---|---|---|---|
| IDENT | DESCRIPTION | LOCATION | IPC REF |
| - | MAIN WHEEL AND TIRE ASSEMBLY | ZONE(S) 730/740 | 32-41-01 |

