Overview
Emergency/Parking Brake Valve
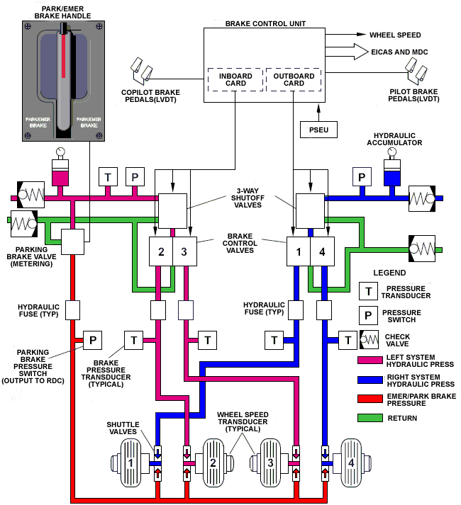
The emergency/parking brake valve is installed in the lower center fuselage. Access to the emergency/parking brake valve is through the forward maintenance access-panel of the forward wing-to-fuselage fairing. The emergency/parking brake valve is a metering valve connected to the left hydraulic system. It has a pressure port, a return port, and a brake port. The pressure port is connected to the left hydraulic system pressure-line and bypasses the brake shutoff valve. The brake port is connected to the brake line and bypasses the brake control valve.
A lever on the emergency/parking brake valve moves a piston that controls the pressure that goes to the brakes. The PARK/EMER BRAKE handle is connected by a cable to the lever on the emergency/parking brake valve.
Emergency/Parking Brake Accumulator
The emergency/parking brake accumulator is a hydropneumatic accumulator on the aft side of the underwing fairing support frame. The accumulator is a piston-type unit which is gas charged and has a volume of 75 in.³ (1,229.03 cm³). It is upstream of the brake shutoff valve and contains pressurized hydraulic fluid.
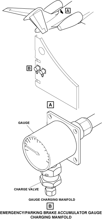
The gas fitting end of the accumulator is connected to a gauge and a charge valve. The gauge and charge valve are on the FS635.00 bulkhead in the rear fuselage battery compartment. The fluid fitting end of the accumulator is connected to the emergency/parking brake valve. The emergency/ parking brake accumulator has identification plates on its body.
The emergency/parking brake accumulator has two functions:
- For the brake control system, if the left hydraulic system does not operate correctly, the emergency/ parking brake accumulator provides emergency pressure. This pressure is supplied to the shuttle valves of the inboard brakes through brake control valves.
- For the parking brake system, if the left hydraulic system does not operate correctly, the emergency/parking brake accumulator supplies parking brake pressure. This pressure is supplied to the shuttle valves of the inboard and outboard brakes through the emergency/parking brake valve.
Emergency/Parking Brake Handle
The PARK/EMER BRAKE handle is installed on the flight-compartment center pedestal. The handle is used to operate the parking brake system. The PARK/EMER BRAKE handle is connected by a cable to the lever on the emergency/parking brake valve. The lever moves a piston in the valve that controls the hydraulic pressure that goes from the emergency/parking brake accumulator to the brakes. When the PARK/EMER BRAKE handle is pulled, the emergency/parking brake valve sends hydraulic pressure to the brakes. The front panel of the PARK/EMER BRAKE handle has internal lighting to help the flight crew.
Emergency/Parking Brake Pressure Switch
The emergency/parking brake pressure switch is on the lower center fuselage. Access to the emergency/parking brake pressure switch is through the forward maintenance access panel of the forward wing-to-fuselage fairing. The pressure switch is a hydromechanically operated device. It is a two-pole, two-throw switch with a hydraulic fitting on one end and an electrical connector on the other end. The hydraulic brake pressure moves the switch when there is a change in pressure.
The hydraulic fitting connects to the emergency/ parking brake fuse which connects to the brake port of the emergency/parking brake valve. It gives the indication that the pressure is on or off. The electrical connector connects to the remote data concentrator (RDC) and the cockpit voice recorder (CVR).
Emergency/Parking Brake Hydraulic Fuse
The emergency/parking brake hydraulic fuse is on the lower center fuselage. Access to the emergency/parking brake hydraulic fuse is through the forward maintenance access panel of the forward wing-to-fuselage fairing. The hydraulic fuse connects between the brake port of the emergency/ parking brake valve and the brake shuttle valve. It keeps fluid leakage to a minimum if there is damage to the line downstream of the brake valve.
The emergency/parking brake hydraulic fuse has one system port (connected to the emergency/parking brake valve), and one brake port (connected to the brake hydraulic line). An internal flow-operated switch moves the fuse to the closed position when the switch senses too much fluid flowing through the fuse. The fuse has a manual bypass lever that bleeds the brake control system at the brake.
Emergency/Parking Brake Pressure Transducer
The emergency/parking brake pressure transducer is on the aft side of the underwing fairing support frame. The pressure transducer uses a resistor bridge configuration which changes the hydraulic pressure at the input port into an electrical signal. It has one hydraulic port and one electrical connector. The hydraulic port connects to the pressure line of the left hydraulic system. The electrical connector connects to the RDC for the engine indicating and crew alerting system (EICAS).
11/27/15
Operation
Usually the pressure from the left hydraulic system supplies pressure to the emergency/parking brake valve. If the hydraulic pressure decreases in the left hydraulic system, pressure becomes available from the emergency/parking brake accumulator. The emergency/parking brake accumulator (for the brake control system) has sufficient volume to supply pressure to the inboard brakes for six emergency stops.
The emergency/parking brake accumulator pressure is connected directly to the emergency/parking brake valve and bypasses the brake shutoff valve.
An emergency/parking-brake pressure transducer usually monitors the pressure of the left hydraulic system. If the left hydraulic system pressure is lost, then only the emergency/parking brake accumulator will supply the emergency/parking brake valve. The emergency/parking-brake pressure transducer is connected to the RDC. The transducer will then give an electrical signal of the pressure of the emergency/parking brake accumulator.
A hydraulic fuse is installed between the emergency/parking brake valve and the brakes. This will make sure that the volume of hydraulic fluid is not decreased if there is a broken brake hydraulic line downstream of the fuse. It will also keep to a minimum the quantity of fluid spray that can get on a hot brake. A pressure switch downstream of the fuse is connected to the RDC to show that emergency/parking brake pressure is on or off.
In the event that there is no hydraulic pressure available, the brake shutoff valves isolates hydraulic pressure from the brake control valves. In this condition the pressure line from the emergency/parking brake accumulator is connected directly to the pressure port of the emergency/parking brake valve.
When the flight crew pulls up on the PARK/EMER BRAKE handle, the handle pulls a cable connected to the lever. This lever is connected to the emergency/parking brake valve. This lever moves a piston that increases brake pressure from 0 to 3,000 psi (0 to 20,684.40 kPa).
Hydraulic system pressure is applied to each brake shuttle valve from the brake control valve when usual brakes are applied. When the PARK/EMER BRAKE handle is pulled, accumulator pressure from the emergency/parking brake valve is applied to each brake shuttle valve. The pressure at the brake shuttle valve from the accumulator can be more than the pressure from the brake control valve. If this occurs then the shuttle valve applies pressure to the brakes from the emergency/parking brake accumulator.
Two components of the emergency/parking brake system give warnings and indications to the flight crew. A pressure switch and a pressure transducer send data to EICAS, the CVR, and the instrument panel. The emergency/parking-brake pressure switch sends a discrete signal to the RDC, and to the CVR erase interlock-relay. The emergency/parking-brake pressure transducer sends an analog signal to the RDC. The EICAS uses the signal as an input to show the quantity of pressure in the emergency/parking-brake accumulator.
The status of the emergency/parking brake-accumulator is shown on the HYDRAULIC synoptic page of the EICAS. There are two boxes with the legends INBD BRAKES and PK/EMER BRAKE. These legends and the status in the boxes change color as the pressure in the accumulator changes as follows:
| LEGEND (COLOR) | STATUS (COLOR) | CONDITION |
| INBD BRAKES (white) | PRESS NORM (green) | Not amber and not magenta |
| INBD BRAKES (amber) | PRESS LOW (amber) | Pressure is <1 400 psi. Stays amber until it becomes >2 000 psi |
| INBD BRAKES (magenta) | PRESS ---- (magenta) | Incorrect data |
| PK/EMER BRAKE (white) | (XXXX) PSI (green) | Not amber and not magenta |
| PK/EMER BRAKE (amber) | (XXXX) PSI (amber) | Pressure is <1 200 psi. Stays amber until it becomes >1 800 psi |
| PK/EMER BRAKE (magenta) | ---- PSI (magenta) | Incorrect data |
The EICAS messages that follow are related to the parking brake system:
| EICAS MESSAGE(S) | LEVEL (COLOR) |
| PARK/EMER BRAKE ON | WARNING (red) |
| PARK/EMER BRAKE ON | CAUTION (amber) |
| PK/EMER BRK PRESS LO | CAUTION (amber) |
| PARK/EMER BRAKE ON | STATUS (white) |
The EICAS message PARK/EMER BRAKE ON will show in the color:
- Red if the parking brake is on while the aircraft is on the ground and in the take-off configuration.
- Amber if the parking brake is on while the aircraft is in the air.
- White if the parking brake is on while the aircraft is on the ground and not in the take-off configuration.
11/27/15
System Interface
The parking brake system has interfaces with the systems/components that follow:
- Cockpit Voice Recorder (CVR)
- Left and Right Hydraulic Systems
- Remote Data Concentrator (RDC)
- Brake Control System
10/20/20
Component Location Index
| Component Location Index | |||
|---|---|---|---|
| IDENT | DESCRIPTION | LOCATION | IPC REF |
| - | EMERGENCY/PARKING BRAKE-VALVE | ZONE(S) 181 | 32-44-01 |
| - | EMERGENCY/PARKING-BRAKE ACCUMULATOR | ZONE(S) 182 | 32-44-05 |
| PL46 | PARK/EMER BRAKE HANDLE | ZONE(S) 210 | 32-44-09 |
| S31 | EMERGENCY/PARKING-BRAKE PRESSURE SWITCH | ZONE(S) 141 | 32-44-13 |
| - | EMERGENCY/PARKING-BRAKE HYDRAULIC FUSE | ZONE(S) 141 | 32-44-17 |
| MT102 | EMERGENCY/PARKING-BRAKE PRESSURE TRANSDUCER | ZONE(S) 182 | 32-44-21 |











