Overview
The panel integral lighting system provides the necessary light and intensity control for the control panels and instruments installed in the cockpit that do not have another lighting system.
The integral lighting system uses lighting plates and a light source to supply light to the control panels and instruments. This lets the flight crew see the control panels and instruments functions in all conditions of ambient lighting.
The cockpit integral lighting is divided into the following four zones:
- Left side zone (controlled by the GSHLD/L SIDE rotary knob)
- Right side zone (controlled by the GSHLD/R SIDE rotary knob)
- Pedestal zone (controlled by the PEDESTAL rotary knob)
- Circuit breaker panels (CBP) zone (controlled by the CB PANELS rotary knob)
The control of these four zones is shared between the pilot and copilot sides.
The ANNUN, PFD/MFD, MFD/PFD and DOME buttons of the COCKPIT LIGHTS control panels control the lighting of systems that are not part of the integral lighting system.
Integral Lighting Controller
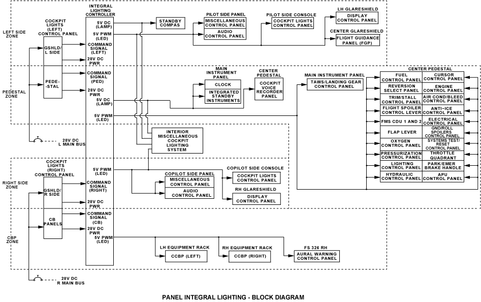
The lighting controller is located below the left side console. The lighting controller housing is made of aluminum alloy. The controller supplies the electrical power and controls the light intensity of the control panels and instruments which are part of the system. It can control the light output of LEDs and incandescent lamps.
The controller includes four channels electrically isolated, one for each zone. The controller outputs are operated through the rotary buttons (potentiometers) of the COCKPIT LIGHTS control panel.
Cockpit Lights Control Panel
The two COCKPIT LIGHTS control panels are located on the pilot and copilot side consoles. Each control panel has two rotary buttons which control one zone of the integral lighting system.
The pilot side controls the left side zone and pedestal zone. The left side zone includes the left console, pilot panel, left and center part of the glareshield and standby compass backlighting. The pedestal zone includes the center pedestal and main instrument panel.
The copilot side controls the right side zone and CBP zone. The right side zone includes the right console, copilot panel and right part of the glareshield. The CBP zone includes the left cockpit circuit-breaker panel (CCBP), right CCBP and aural warning panel.
06/12/17
System Operation
The System Operation description includes:
Lighting Plates
The LEDs are the primary source of light for the lighting plates. The LEDs give light to the lighting plates of the control panels. The lighting plates can also received light by incandescent lamp.
Lighting Controls
On the COCKPIT LIGHTS control panel, each knob sends variable control voltages to the integral lighting controller. The controller decreases these voltages through internal circuits.
Each zone has its manual control. The lighting is off when the rotary knob is at the most counterclockwise position (DIM). The lighting is at full intensity when the rotary knob is at the most clockwise position (BRT). Between these two positions, the knobs give a continuous intensity adjustment (dim function).
Power Distribution
The L MAIN BUS supplies 28 VDC power to the left side and pedestal zone. The R MAIN BUS supplies 28 VDC power to the right side and CBP zone.
The BRT/DIM knobs supply variable voltages to the controller to change the lighting intensity. The controller decreases the voltages from the knobs to vary the output necessary for the integral lighting system. This is done through internal voltage limiters. The controller supplies 1.5 to 5 VDC regulated voltage to the lighting plates with incandescent lamps. The controller supplies 4.7 ± 0.2 V pulse width modulated (PWM) voltage (100 Hz) to the lighting plates with LEDs. The controller supplies 5 VDC (lamp) and 5 V PWM (LED) to the interior miscellaneous cockpit lighting system. Installation may differ on each aircraft.
The controller supplies 5 VDC (lamp) to the standby compass (installed above the flight guidance control panel).
The controller supplies 5 V PWM (LED) to the glareshield, pilot side panel, and pilot side console following components:
- Display control panel (left glareshield)
- Flight guidance panel (FGP) (center glareshield)
- BARO utility panel
- Audio control panel
- COCKPIT LIGHTS control panel (side console)
The controller supplies 5 VDC (lamp) to the following main instrument panel and center pedestal components:
- Clock
- Integrated standby instruments
- COCKPIT VOICE RECORDER panel (center pedestal)
The controller supplies 5 V PWM (LED) to the following main instrument panel and center pedestal components:
- TAWS/LANDING GEAR control panel (main instrument panel)
- FUEL control panel
- Reversion select panel
- TRIM/STALL control panel
- Flight spoiler control lever
- Flight management system (FMS) control display unit (CDU) 1 and 2
- FLAP lever
- OXYGEN control panel
- PRESSURIZATION control panel
- LIGHTING control panel
- HYDRAULIC control panel
- Cursor control panel
- ENGINE control panel
- AIR COND/BLEED control panel
- ANTI-ICE control panel
- ELECTRICAL control panel
- GND/ROLL SPOILERS control panel
- SYSTEMS TEST/RESET control panel
- Throttle quadrant
- PARK/EMER BRAKE handle
- APU control panel
The controller supplies 5 VDC (lamp) and 5 V PWM (LED) to the interior miscellaneous cockpit lighting system.
The controller supplies 5 V PWM (LED) to the following glareshield, copilot side panel, and copilot side console components:
- Display control panel (right glareshield)
- BARO utility Panel
- Audio control panel
- COCKPIT LIGHTS control panel (side console)
The controller supplies 5 V PWM (LED) to the following CBP components:
- AURAL WARNING control panel
- Cockpit circuit breaker panel (CCBP) (left)
- Cockpit circuit breaker panel (CCBP) (right)



