11/26/15
Overview
The function of the navigation lighting system is to give the aircraft position and direction in relation to an observer. On post SB 350-33-003 the navigation lighting system has a primary and a secondary lighting system for the wing-tips and the tail. On pre SB post 350-33-003 the navigation lighting system has a LH wing-tip lighting system, a RH wing-tip lighting system and a lighting system for the tail. The dual navigation light system is for additional dispatch reliability.
Warning:
Obey all the safety precautions when you do maintenance on or near electrical/electronic equipment. If you do not obey the safety precautions, you can cause injury to persons and damage to equipment.
Caution:
Make sure that you install a light bulb that has the correct part number. An incorrect light bulb can cause an incorrect current in the system. This can cause damage to the equipment.
Note:
The color (red, green and white) of the wing and tail navigation lights is given by the lens assemblies and not the lamp itself. Make sure that the lens colors are correct (red for left wing, green for right wing, and white for tail) after a replacement.
11/26/15
Wing Navigation Light
On A/C pre 350-33-003 there is one wing tip navigation light in each wing tip. The navigation light on the left wing is red and on the right wing is green. They are installed in the recess of the leading edge of the wing tips. A polycarbonate light cover (winglet lens) gives protection to the lights.
On A/C post SB 350-33-003 there are two wing tip navigation lights (primary and secondary) in each wing tip and they are installed on the same support. The inboard lights are the secondary wing navigation-lights and the outboard lights are the primary wing navigation-lights. The navigation lights on the left wing are red and those on the right wing are green. They are installed in the recess of the leading edge of the wing tips. A polycarbonate light cover (winglet lens) gives protection to the lights.
The wing navigation light has a LED lamp. The lamp is installed in a housing behind a lens. The wing navigation lights receive 28 VDC electrical power from the R MAIN BUS.
11/26/15
Tail Navigation Light
On A/C pre SB 350-33-003 or pre SB350-33-004 there is one tail navigation lights (primary) installed at the vertical stabilizer bullet fairing and it is in the same assembly. The top light is the primary light. The light is white. The tail navigation light has a LED lamp. The lamp is installed in a housing behind a lens and is attached to the fairing with screws. The tail navigation light receives 28 VDC electrical power from the R MAIN BUS.
On A/C post SB 350-33-003 or post SB 350-33-004 there are two tail navigation lights (primary and secondary) one above the other in the vertical stabilizer bullet fairing. The tail navigation lights have a LED lamp.The lamps are installed in a housing behind a lens and are attached to the fairing with screws. The top light is the primary light and the bottom light is the secondary light. The lights are white and receive 28 VDC electrical power from the R MAIN BUS.
12/03/15
System Operation
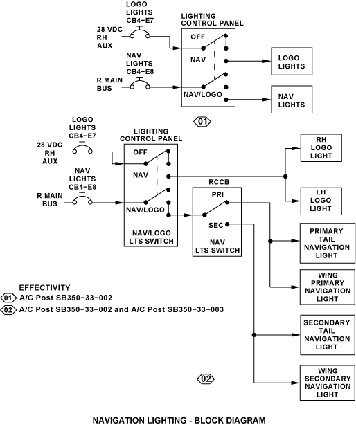
The navigation light system is controlled by a switch on the LIGHTING control panel in the cockpit and its sets the lights On or Off (NAV or OFF position). Another NAV switch is found on the remote-control circuit breaker (RCCB) of the secondary power center (SPC) which is installed in the RH equipment rack. This switch has the PRI and SEC positions and is INOPERATIVE on A/C pre SB 350-33-003.
On A/C post SB 350-33-003 or post SB 350-33-004 the navigation light system is controlled by two different switches. There is one NAV switch found on the LIGHTING control panel and it sets the lights On or Off (NAV or OFF position). The other NAV switch is found on the remote-control circuit breaker (RCCB) of the secondary power center (SPC) which is installed in the RH equipment rack. This switch has the PRI and SEC positions. This switch sets the primary or secondary system. When a failure occurs in the primary system, the pilot manually sets the NAV switch to SEC to set the secondary system. This keeps a continuous operation of the navigation light system.
On A/C post SB 350-33-003 when the switch is set to SEC position the secondary tail navigation light and the secondary wing navigation lights on.
On A/C post SB 350-33-004 when the switch is set to SEC position the primary tail navigation light and the wing navigation lights on.
On A/C post SB 350-33-002 the navigation light system is controlled by two different switches. There is one NAV/LOGO switch found on the LIGHTING control panel. When set to NAV it sets the navigation lights on. When set to NAV/LOGO it sets the navigation lights and the logo lights on. When set to OFF it sets the navigation lights and the logo lights off. The other NAV switch is found on the remote-control circuit breaker (RCCB) of the secondary power center (SPC) which is installed in the RH equipment rack. This switch has the PRI and SEC positions. When set to PRI position it sets the primary tail navigation light and the wing navigation lights on. When set to SEC position it sets the secondary tail navigation light and the wing navigation lights on.
11/26/15
System Interface
The navigation lighting system has interfaces with the components that follows:
- Secondary Power Center (SPC)
- RH Equipment Rack
- LIGHTING Control Panel
- Winglet Lens
10/21/20
Component Location Index
| Component Location Index | |||
|---|---|---|---|
| IDENT | DESCRIPTION | LOCATION | IPC REF |
| DS13 | WING PRIMARY NAV LIGHT (LH) | ZONE(S) 541 | 33-42-01 |
| DS14 | WING PRIMARY NAV LIGHT (RH) | ZONE(S) 641 | 33-42-01 |
| DS16 | WING SECONDARY NAV LIGHT (LH) (A/C POST SB350-33-003) | ZONE(S) 541 | 33-42-01 |
| DS17 | WING SECONDARY NAV LIGHT (RH) (A/C POST SB350-33-003) | ZONE(S) 641 | 33-42-01 |
| DS13 | WING NAV LIGHT (LH) | ZONE(S) 541 | 33-42-01 |
| DS14 | WING NAV LIGHT (RH) | ZONE(S) 641 | 33-42-01 |
| DS15 | TAIL PRIMARY NAV LIGHT | ZONE(S) 346 | 33-42-05 |
| DS18 | TAIL SECONDARY NAV LIGHT DS18 (A/C POST SB350-33-003 AND POST SB350-33-004) | ZONE(S) 346 | 33-42-05 |








