03/03/21
Message Overview:
Message Description:
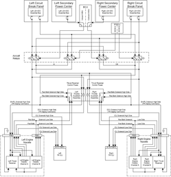
No thrust reverser hydraulics on left engine. No hydraulic pressure or functionality in the TR actuation system.
Possible Causes:
- Hydraulic System Failure
- Blockage or Leakage in the Interface Control Unit (ICU) Hydraulic Supply Lines
- Interface Control Unit (ICU) Valve Failure
- Interface Control Unit (ICU) Solenoid Electrical System Failures
- Other failures that prevent either the upper or lower pivot door from reaching the commanded position (stowed or deployed) within the prescribed time limit
NOTE: MCID 1461 may be annunciated under certain circumstances when the hydraulic system is working properly. For example, if either the upper or lower pivot door fails to reach the commanded position (stowed or deployed) within the prescribed time limit, MCID 1461 will be annunciated even if loss of hydraulic pressure was not the source of the problem. Under these circumstances, MCID 1461 will be annunciated concurrently with MCID 1801 and other fault messages such as MCID 1427, 1428, or 1435. It is recommended that if MCID 1461 occurs in combination with MCID 1801 and other fault messages, troubleshooting efforts should focus on the other fault messages first. If the problem is not resolved by troubleshooting the other fault messages, then proceed to troubleshoot MCID 1461.
Troubleshooting Tips:
Advisory Wire/Service Bulletin: None
Forum Articles/Infoservice/Newsletter: None
Quick Links:
None
Troubleshooting Recommendations:
- MCID 1461 fault present, troubleshoot using the following steps for aircraft and engine fault isolation with reference to the Light Engine Maintenance Manual TASK 72-00-00-810-287.
