04/22/21
Message Overview:
Message Name:
OIL TEMP REFERENCE 3B
Message Code:
B3-303631
Associated CAS:
| Reporting LRU: | L ENG OIL TEMP |
| System Description: | 79-30-00 |
| Schematic Diagram: | None |
| Wiring Diagram: | None |
Message Description:
Left engine oil temperature common reference fault 3B.
[MCID 1006]
Oil Temperature Reference 3B.
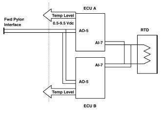
A fault in the harness from ECU A to ECU B or ECU B and/or ECU A was sensed.
Possible Causes:
- Wiring Harness (W6)
- Full Authority Digital Engine Control Unit (FADEC) Electronic Control Unit B (ECU) (A43)
- Full Authority Digital Engine Control Unit (FADEC) Electronic Control Unit A (ECU) (A41)
Troubleshooting Tips:
Advisory Wire/Service Bulletin: None
Forum Articles/Infoservice/Newsletter: None
Quick Links:
| Removal of the Engine Electronic Control Unit (ECU) | AMM 76-10-05-000-801 |
| Installation of the Engine Electronic Control Unit (ECU) | AMM 76-10-05-400-801 |
| Removal of the Oil Pump | AMM 79-21-01-000-802 |
| Installation of the Oil Pump | AMM 79-21-01-400-802 |
| Removal of the Oil Filter | AMM 79-21-05-000-801 |
| Installation of the Oil Filter | AMM 79-21-05-400-801 |
| Removal of the Chip Detector | AMM 79-21-09-000-801 |
| Installation of the Chip Detector | AMM 79-21-09-400-801 |
| Removal of the Oil Filter Bypass-Indicator | AMM 79-31-01-000-802 |
| Installation of the Oil Filter Bypass-Indicator | AMM 79-31-01-400-802 |
| Removal of the Oil Temperature Transducer | AMM 79-31-05-000-801 |
| Installation of the Oil Temperature Transducer | AMM 79-31-05-400-801 |
| Removal of the Oil Pressure Transducer | AMM 79-31-09-000-801 |
| Installation of the Oil Pressure Transducer | AMM 79-31-09-400-801 |
| Removal of the Oil Level Probe | AMM 79-31-13-000-801 |
| Installation of the Oil Level Probe | AMM 79-31-13-400-801 |
| Wire Repair - Maintenance Practices - ALL | SPM 20-12-10-02 |

