02/16/21
Overview
Note:
The Cabin Communication System is availble for ALL Global 5000/XRS and on A/C 9140 and subs and Post SB 700-23-003 for Global Express.
The cabin communications system is a digital airborne telephone system that operates on the GTE AIRFONE digital air-ground telephone network.
On Global Express and A/C 9159, 9162, 9163, 9165 and 9169 for Global XRS:
All communication features in an office are made available in the airborne environment. The system supplies the functions that follow:
- Direct Dialing
- Continuous North American Coverage
- SATCOM Connection
- Cabin Management Connection
- Multiple Calls
- Uplink Calls
- Conference Calls
- Call Transfer
- In-Plane Calls
- Speed Dialing
- Multiple Phones
- FAX/ Data Modem
- Telecommunication Device for the Deaf (TDD)
- Call Charging
- Privacy
On Global 5000 and A/C 9167, 9171 and Subs for Global XRS:
All communication features in an office are made available in the airborne environment. The system supplies the functions that follow:
- Direct Dialing
- Global Coverage using SATCOM
- Adopts to North American or European Dialing Plans
- Cabin Management Connection
- Uplink Calls
- Conference Calls
- Call On-Hold and Call Transfer
- Intercom Calling
- Speed Dialing
- Multiple Phones
- Auto Fax Recognition
- Telecommunication Device for the Deaf (TDD)
- Call Charging
- Calling restrictions by Medium or by Country Code
- PIN Protection for inbound/outbound Calling
- Call Queuing
- Voice Prompts for Announcements and Instructions
05/31/16
Air Radio-Telecommunications Unit (ARTU)
On Global Express and A/C 9159, 9162, 9163, 9165 and 9169 for Global XRS
The ARTU supplies the private automatic base exchange (PABX) functions, controls the cabin communication system, and contains the receiver/transmitter functions for the radio transmission. This digital radio gives noise free, reliable communication in the noise of aircraft to ground communication. There is a built-in test system.
The ARTU has a voltage range of 20.5 to 32.5 VDC and the power consumption at 27.5 VDC is as follows:
- Transmit: Nominal = 212 Watts
- Transmit: Maximum = 265 Watts
- Receive: Nominal = 120 Watts
The ARTU is installed on a mounting tray with an integral cooling fan. The ARTU weighs 15.4 lbs (7.0 kg). The ARTU is a full-duplex radio which operates in the frequency range of 849 to 851 MHz for receive, and 894 to 896 MHz for transmit functions. It has a transmit power of 10 Watts. The ARTU is designed to operate in an atmosphere that is not pressurized, up to an altitude of 5,000 ft. with an operational temperature range of -55 °C to +70 °C.
06/02/16
Air Radio-Telecommunications Unit (ARTU) Tray
05/31/16
Flight Compartment Handset
On Global Express and A/C 9159, 9162, 9163, 9165 and 9169 for Global XRS
The flight compartment handsets contain noise-canceling microphones to overcome the aircraft noise environment. The handset digitizes the audio to give clear communication. Special function keys and a liquid crystal display give use of all options available to the user. The flight compartment handset is installed on the center pedestal in a mount. The handsets are connected to the LAN bus through a CDBR.
The flight compartment handset has a voice activated push to talk switch. The digital flight compartment handset supplies analog to digital and digital to analog signal processing to support normal telephone operations.
05/31/16
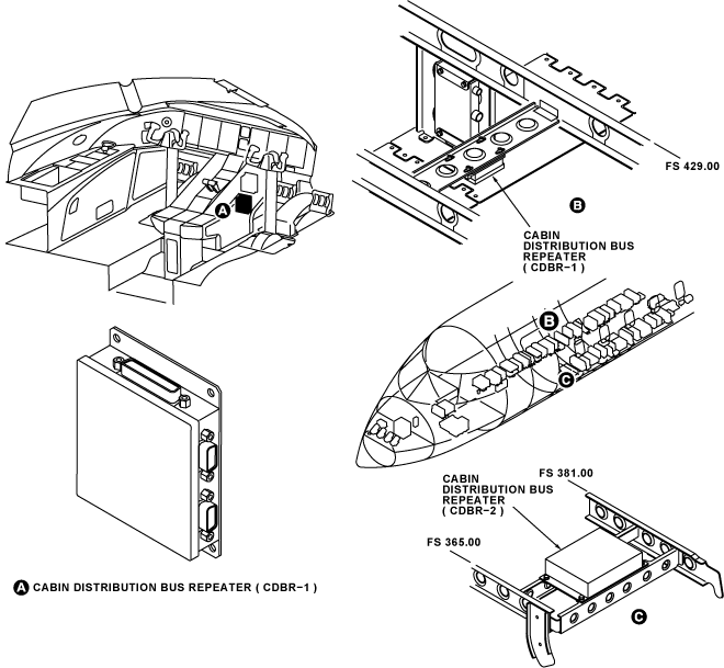
Cabin Distribution-Bus Repeaters (CDBR)
On Global Express and A/C 9159, 9162, 9163, 9165 and 9169 for Global XRS
A high-speed time-division-multiplexed digital bus operates as a local area network (LAN). It supplies data and control to the ARTU. User interface devices such as handsets, fax machines, modems, connect to the system via this LAN. There are two different models of the CDBR. The CDBR-1 supplies physical connections of up to two digital handsets to the LAN bus. The CDBR-2 supplies an interface for two wire data for direct connection of a fax machine or modem and a separate interface for connection of a digital handset.
CDBR-1 which has four connectors, can connect to two digital handsets, or one digital handset and one call alerter switch (CAS) at its J3 and J4 connectors. J1 is the input LAN connector that connects to the ARTU or one more LAN repeater that is before the unit. J2 is the output LAN connector that connects to the other LAN repeater that is after the unit.
CDBR-2 which has six connectors, can connect to one digital handset, or one call alerter switch (CAS) at its J4 connector. It can also connect to two analog interfaces via an RJ-11 jack for FAX machines or modems at its J5 and J6 connectors. J1 is the connector for the aircraft 28 VDC power input. J2 is the input LAN connector. J3 is the output LAN connector.
05/31/16
Duplexer
06/03/16
Call Alerter Switch (CAS)
On Global Express and A/C 9159, 9162, 9163, 9165 and 9169 for Global XRS
The CAS has ten switches that are programmable to control external call alerting devices lights, chimes or sonalert for uplink calls to the installed handsets. The digital handset programs the CAS outputs. Any combination of the ten different CAS output switches can be programmed from each of the individual digital handsets. The CAS outputs will then be activated whenever the associated handset is called.
The CAS is a listen only device. Only one CAS is required per system.
02/16/21
Iridium Transceiver (ICS)
On A/C 9167, 9171 and Subs for Global XRS
The iridium transceiver is a ICS-100 Iridium communication system. It is a single channel iridium transceiver with CTU functions. The ICS can connect to conventional telephony devices or legacy CTU systems through either standard 2-wire “Tip and Ring” circuits, or 4-wire audio connections. Its CTU functions include intercom calling, call transfer, conferencing, and follow-on dialing.
The iridium transceiver is a ICS-200 Iridium communication system. It is a dual channel iridium transceiver with CTU functions. The ICS can operate over a single coax and iridium antenna. Its CTU functions include intercom calling, call transfer, conferencing, and follow-on dialing.
The ICS is installed in a 2-MCU (2-MCU being a line replacement unit (LRU) width standard) mounting tray in the lower avionics rack. Through a serial port connection, the ICS can supply global voice service and data communication up to 2,400 bit-per-second.
On A/C Pre SB 700-1A11-23-006 for Global 5000
On A/C Pre SB 700-1A11-23-038 for Global 5000
The iridium transceiver is a ICS-100 Iridium communication system. It is a single channel iridium transceiver with CTU functions. The ICS can connect to conventional telephony devices or legacy CTU systems through either standard 2-wire “Tip and Ring” circuits, or 4-wire audio connections. Its CTU functions include intercom calling, call transfer, conferencing, and follow-on dialing.
The ICS is installed in a 2-MCU (2-MCU being a line replacement unit (LRU) width standard) mounting tray in the avionics rack. Through a serial port connection, the ICS can supply global voice service and data communication up to 2,400 bit-per-second.
On A/C Post SB 700-1A11-23-006 for Global 5000
On A/C Pre SB 700-1A11-23-038 for Global 5000
The iridium transceiver is a ICS-200 Iridium communication system. It is a dual channel iridium transceiver with CTU functions. The ICS can operate over a single coax and iridium antenna. Its CTU functions include intercom calling, call transfer, conferencing, and follow-on dialing.
The ICS is installed in a 2-MCU (2-MCU being a line replacement unit (LRU) width standard) mounting tray in the avionics rack. Through a serial port connection, the ICS can supply global voice service and data communication up to 2,400 bit-per-second.
02/16/21
Iridium Filter
On Global 5000 and A/C 9167, 9171 and Subs for Global XRS
On A/C Pre SB 700-1A11-23-038 for Global 5000
The iridium filter is a radio frequency filter. It has a center frequency of 1,622.375 MHz, and an operating bandwidth of 1,618.25 to 1,626.5 MHz. The iridium filter is the interface between the iridium antenna and the iridium transceiver. It is installed adjacent to the iridium transceiver in the lower avionics rack.
02/16/21
Cabin Telecommunication Unit (CTU)
On Global 5000 and A/C 9167, 9171 and Subs for Global XRS
The Aerocom 3000 CTU is the central point of the communication system. It lets all models of telephony devices in the cabin to be connected with the iridium communication system (ICS). It can also supply connection to any air to ground and ground to air aeronautical transceivers. The CTU supplies the private automatic base exchange (PABX) with the use of Iridium transceiver and SATCOM (SAT-6000). The CTU is installed on a 6-MCU mounting tray in the lower avionics bay. It has a connector at the front face for system test.
06/03/16
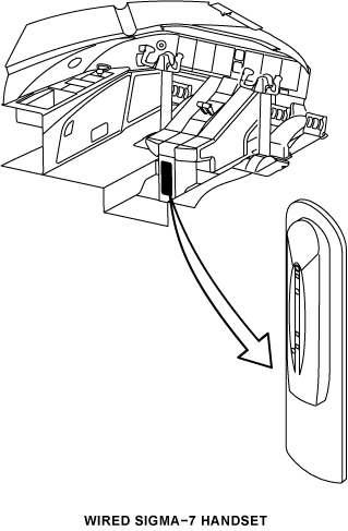
Sigma 7 Handset
On Global 5000 and A/C 9167, 9171 and Subs for Global XRS
The Sigma 7 handset is a 2-wire telephone with a retractor-reel. The retractor-reel mechanism can retract the handset cord when the handset is put back in the cradle. The Sigma 7 handset has an earpiece volume adjustment, a two-line LCD display, and an internal magnetic strip reader to support credit card calls. There is a special function key on the handset to supply flash transfer and access to program menus.
The Sigma 7 handset gets its electrical power from the CTU system.
There are four wired Sigma 7 handsets and one cordless handset installed in the aircraft. One Sigma 7 handset is installed in the flight compartment, at the aft end of the center pedestal. One Sigma 7 handset each is installed at the left and right side-ledge of the forward fuselage near FS525.00. The cordless handset is installed at the left side-ledge of the mid-fuselage near FS595.00. The other Sigma 7handset is installed at the left side-ledge of the aft fuselage. The cordless handset operates at 2.4 GHz.
05/31/16
External Ringer
On Global 5000 and A/C 9167, 9171 and Subs for Global XRS
Each Sigma 7 handset has a related external ringer that has a RJ11 connector. The external ringer gets its electrical power from the telephone ring signal. The external ringer is usually installed in a location where it may be difficult to hear an incoming ring. The plugin connector of the external ringer connects to the Sigma 7 handset.
02/16/21
Iridium Antenna
On Global 5000 and A/C 9167, 9171 and Subs for Global XRS
The iridium antenna is a low profile antenna with a circular shape. It operates in the frequency band of 1,610 to 1,626 MHz. The maximum cable length between the iridium receiver and the iridium antenna is 50 ft. (30.5 cm). The iridium antenna is installed on the top fuselage, at FS774.00.
G5000
GXRS
06/03/16
Cabin Communication System
On Global Express and A/C 9159, 9162, 9163, 9165 and 9169 for Global XRS
The cabin communication system is used to place and receive voice calls, send data transmission via modem as well as send and receive facsimile transmission from the aircraft cabin.
A central radio processor on-board each cabin communication system has the aircraft coordinates and controls the cabin telephone handsets for all voice calls, data and fax modem operations, and in cabin intercom functions. The system links the GTE Airfone Ground Networks for channel selection and call hand-off operations.
During flight, the cabin communication system continually scans and monitors ground-based radio cells for the best communication channel. The handset's LCD display shows the channel availability. When a call is initiated, the system searches for the ideal channel and connects the calling and receiving parties. The system lets multiple handset calls and, two independent air to ground voice, fax or data calls, may operate on the system at the same time.
The cabin distribution components form a Local Area Network (LAN) which interfaces the user equipment handset and SATCOM system (post SB 700-23-001) to the ARTU. The Cabin Distribution Bus Repeater (CDBR) model 1 interfaces digital handsets and Call Alerter Switch (CAS) to the system. Each CDBR-1 interconnect two digital handsets or one digital handset and one CAS to the LAN bus. The CAS provides ten switches, programmable to respond to calls to any installed handset, that can be used to control light, chimes or sonalert. The Cabin Distribution Bus Repeater, model 2 (CDBR-2) has a standard digital interface port that will support either a digital handset or a CAS.
The cabin communication system connects to an airborne data-link system to provide alternative communication media for the data link to other systems on the aircraft. ACARS type data is carried over an internal cabin communication system modem to the UHF phone. The UHF phone supplies reception and transmission of ACARS type data with no degradation of performance or transmission. The cabin communication system can notify the data-link system when the UHF phone is unavailable via a status indication.
The cabin communication system has self test coverage for power up test, a user activated self test function as part of general aircraft maintenance and continuous monitoring. The power up test performs a complete check of the internal system and verify all interfaces. The cabin communication system performs continuous monitoring of the interfaces and possible malfunctions. Fault detected is logged in a non volatile fault log and enunciated if necessary. The cabin communication system supplies non volatile memory (NVM) for storage of all faults. The faults and maintenance items are logged in the NVM and stamped with time, data, flight leg and aircraft serial number. The Data Acquisition Unit (DAU) ARINC 429 general purpose bus supplies the data.
The cabin communication system supplies fault data to CAIMS via the ARINC 429 interface. The primary system fault data sends discrete bits within the 429 status or maintenance words. Each specific fault or message is associated with an individual bit, no logic or combination of bits is required to be performed by the CAIMS to interpret a fault message.
On Global 5000 and A/C 9167, 9171 and Subs for Global XRS
The cabin communication system is used to place and receive voice calls, send data transmission via modem as well as send and receive facsimile transmission from the aircraft cabin.
A CTU coordinates and controls all telephone handsets for all voice calls, data and fax modem operations, and in cabin intercom functions. The system links the GTE Airfone Ground Networks for channel selection and call hand-off operations.
During flight, the cabin communication system continually scans and monitors ground-based radio cells for the best usable communication channel. The availability of a channel is indicated on the handset's LCD display. When a call is initiated, the system searches for the ideal channel and connects the calling and receiving parties. The system will accommodate multiple handsets and two independent air to ground voice, fax or data calls may be placed on the system at the same time.
The CTU in the cabin telecommunication system ties all cabin connections with the Iridium Communication System (ICS). The connection between the CTU and each handset, and fax machine, is based on analog wiring.
09/02/20
Component Location Index
| Component Location Index | |||
|---|---|---|---|
| IDENT | DESCRIPTION | LOCATION | IPC REF |
| A246 | AIR RADIO-TELEPHONE UNIT | ZONE(S) 142 | 23-14-01 [ GX ] [ GXRS ] [ G5000 ] |
| A715 | IRIDIUM TRANSCEIVER | ZONE(S) 232 | 23-14-03 [ GX ] [ GXRS ] [ G5000 ] |
| A720 | IRIDIUM FILTER | ZONE(S) 232 | 23-14-07 [ GX ] [ GXRS ] [ G5000 ] |
| HS1 | FLIGHT COMPARTMENT HANDSET | ZONE(S) 221/222 | 23-14-09 [ GX ] [ GXRS ] [ G5000 ] |
| A714 | CABIN TELECOMMUNICATION UNIT | ZONE(S) 142 | 23-14-11 [ GX ] [ GXRS ] [ G5000 ] |
| A243/A245/A244 | CABIN DISTRIBUTION-BUS REPEATER | ZONE(S) 221/222 | 23-14-13 [ GX ] [ GXRS ] [ G5000 ] |
| A243 | CABIN DISTRIBUTION-BUS REPEATER | ZONE(S) 221/222 | 23-14-13 [ GX ] [ GXRS ] [ G5000 ] |
| HS501 | SIGMA 7 FLIGHT COMPARTMENT HANDSET | ZONE(S) 221/222 | 23-14-15 [ GX ] [ GXRS ] [ G5000 ] |
| A247 | DUPLEXER | - | 23-14-17 [ GX ] [ GXRS ] [ G5000 ] |
| LS531 | EXTERNAL RINGER | ZONE(S) 221 | 23-14-19 [ GX ] [ GXRS ] [ G5000 ] |
| S53 | CALL ALERTER SWITCH | - | 23-14-21 [ GX ] [ GXRS ] [ G5000 ] |
| - | IRIDIUM ANTENNA | - | 23-14-23 [ GX ] [ GXRS ] [ G5000 ] |












