Overview
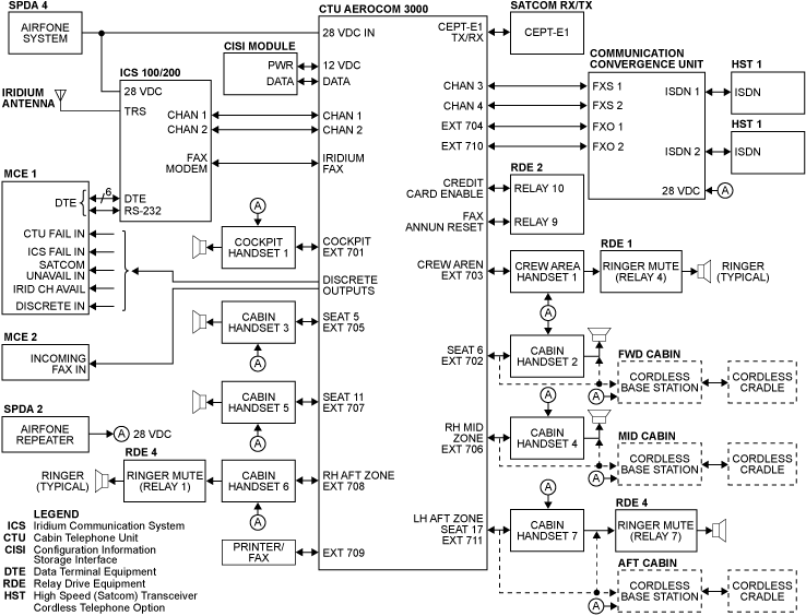
The airborne telephone system is based on AeroCom 3000 Cabin Telephone Unit (CTU) which acts as a private telephone switchboard. Cabin and cockpit phone handsets and fax are connected directly to the CTU via analog signals.
The CTU routes the calls through the Iridium Communication system or the Inmarsat SATCOM system.
Intercom communications is possible between handsets. Each handset has a separate ringer. Some ringers may be muted from the TSE or WPCU. The TSE commands the relay in the RDE to open, preventing ringer operation. Each handset is assigned an extension number allowing for directing calls to specific extensions. The forward, mid, and aft cabin handsets can be replaced with cordless handsets. The cordless handset is installed in a cradle for charging and communicates with the cordless base station.
All handsets and cordless base stations are powered with 28 VDC from SPDA 2.
The printer/fax has its own extension. Fax transmission is routed either through the ICS or through the SATCOM system.
The Cabin Telephone Unit (CTU) is powered from the same SPDA source as the Iridium Comm System (ICS) (ATA 23-16-00). Thus power to the CTU and ICS can only be isolated from an EMS CDU.
Data/voice communication between the ICS and the CTU is via one or two Iridium channels. Data/voice communication with the SATCOM receiver/transmitter (SRT) is via the CEPT - E1 line. Data/voice communication with high speed transceiver (HST) 1 using a Euro ISDN line was never implemented. On aircraft with SwiftBroadband (SBB), the Euro ISDN line is replaced by a multi-channel interface with the Communication Convergence Unit. The CCU permits several additional data/voice channels to be carried over SATCOM, especially the low-cost service.
On aircraft with Swift 64 service only, Iridium is the default communication channel, and on aircraft with SBB, the low-cost service from SATCOM becomes the default service.
Cabin Telecommunication Unit (CTU)
The Aerocom 3000 CTU is the central point of the communication system. It lets all models of telephony devices in the cabin to be connected with the Iridium Communication System (ICS). It can also supply connection to any air to ground and ground to air aeronautical transceivers. The CTU supplies the private automatic base exchange (PBXA) with the use of Iridium transceiver and SATCOM. The CTU is installed on a 6–MCU mounting tray in the lower avionics bay. It has a connector at the front face for system test.
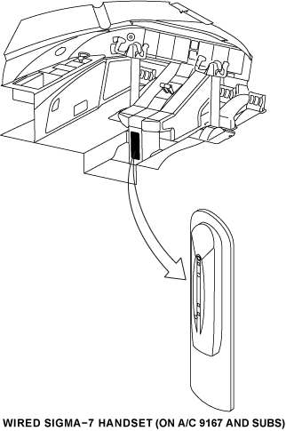
Sigma 7 Handset
The Sigma 7 handset is a 2–wire telephone with a retractor–reel. The retractor–reel mechanism can retract the handset cord when the handset is put back in the cradle. The Sigma 7 handset has an earpiece volume adjustment, a two–line LCD display, and an internal magnetic strip reader to support credit card calls. There is a special function key on the handset to supply flash transfer and access to program menus.
The Sigma 7 handset gets its electrical power from the CTU system.
There are four wired Sigma 7 handsets and one cordless handset installed in the aircraft. One Sigma 7 handset is installed in the flight compartment, at the aft end of the center pedestal. One Sigma 7 handset each is installed at the left and right side–ledge of the forward fuselage near FS525.00. The cordless handset is installed at the left side–ledge of the mid–fuselage near FS595.00. The other Sigma 7 handset is installed at the left side–ledge of the aft fuselage. The cordless handset operates at 2.4 GHz.
External Ringer
Each Sigma 7 handset has a related external ringer that has a RJ11 connector. The external ringer gets its electrical power from the telephone ring signal. The external ringer is usually installed in a location where it may be difficult to hear an incoming ring. The plugin connector of the external ringer connects to the Sigma 7 handset.
Configuration Information Storage Interface (CISI) Interface Utility
Communication Convergence Unit (CCU)
The eNfusion CCU-100 CCU is a multi-port network router, WiFi access point and private branch exchange (PBX). This unit provides network and telephony connectivity to multiple cabin users in combination with the SATCOM and ICS. Although the CCU has WiFi capability, this function is not used. The CCU is used to provide cabin telephone access to the low-cost voice channel of SBB.
The CTU connects to the CCU using 2-wire interfaces to support the additional voice and data channels. The ISDN lines are available to connect to the HST-2110 (one per HST). This provides a maximum of two low-cost voice channels.
Relays in RDE 2 are used to enable or disable the credit card feature of some handsets and to reset fax annunciations. A button is provided to enable/disable the credit card function on the Galley TSE.
Reset of an incoming fax annunciation is performed at the message center. Discretes are routed to the MCE to indicate loss of signal (ICS Fail In and SATCOM Unavail In) and status information. These discrete inputs can be checked on the Galley TSE Maintenance pages.
System Test
AeroCom provides a commercially available configuration and test utility software that can be used to backup and restore the CISI module.
A laptop with a null modem cable, connected to the front face of the CTU is the hardware required to use this utility.
Refer to the AeroCom 3000 Installation/User's Manual for more information.









