Overview
The voice recorder system is a solid-state cockpit voice recorder system (CVR) that records flight-compartment area sounds, flight crew radio/interphone communications, and Greenwich Mean Time (GMT). It can also record digital communication data from the data link system. The recorder records four channels of audio inputs continuously and keeps the last 120 minutes of recording. Playback of the recording is possible only on a test bench. The flight-compartment remote area audio channel is wide-band (150-6,000 Hz) and the other three voice channels are narrow-band (150-3,500 Hz). The recorder has protection from fire and crash damages.
The voice recorder system is energized with 28 VDC power from the DC ESS bus through the secondary power distribution assembly (SPDA) No. 3 and the impact switch. The bulk erase operation cannot occur until the aircraft is on the ground (weight-on-wheels configuration (WOW)), parking brake is set, and the ERASE switch is pushed for a minimum of two seconds.
04/28/16
Cockpit Voice Recorder
The CVR is installed in the aft equipment compartment at FS996L and weighs approximately 11.0 pounds (5 kg). The controller board supplies all input and output signals. It connects the recorder to the aircraft wiring through a rear 57-pin connector. It also controls record, erase, and test functions of the system.
The CVR outputs one audio monitor channel and receives the audio signals from the following four channels, the pilot (channel 3), the copilot (channel 2), the third crew member (channel 1) (optional) and the flight-compartment area microphone (channel 4).
The CVR contains a solid-state (SSCVR), nonvolatile storage device contained in a strong protective casing. It supplies storage for all input data and additional system data such as bite.
The solid-state memory is made of devices known as flash electrically programmable read-only-memory (EPROM). Each EPROM chip is a one megabyte device. The storage capacity of the memory is 120 minutes of continuous recording. The nonvolatile memory is contained in a crash protective housing for protection against impact forces and fire during a crash.
The power supply changes input aircraft power (28 VDC) to secondary power for the internal components. It also supplies power-on reset, and power failure monitoring.
An optional BITE (built-in test equipment) indicator, which is a yellow light-emitting diode (LED), is installed on the front panel of the SSCVR. This LED comes on continuously and the maintenance discrete is set to the failure mode when the CVR self-test finds a defect in the recorder.
The mixed audio of the four channels can be monitored during recording with a headphone connected to the 600 Ω phone jack on the flight compartment control panel. This audio monitor channel is also used to listen to the aural test tone of 800 Hz for a satisfactory commanded self-test.
10/30/17
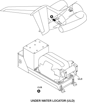
Underwater Locating Device (ULD)
The ULD is attached to the front panel of the CVR in the aft equipment compartment and provides a handle for the CVR. The ULD is a line replaceable unit. It contains an acoustic beacon, a battery, and a water switch. It transmits a 37.5 kHz signal for a minimum of 30 days or 90 days (depending on the model) when the water switch closes. The battery is also line replaceable, and must be replaced before the expiry date shown on the label, usually six years. The battery requires a battery-level check every 24 months. If the ULD is not installed, a handle can be attached in its location.
04/28/16
Control Panel
The control panel, is installed on the copilot side console. It includes the following controls and functions:
- An audio bandpass filter and amplifier for the area microphone
- A headphone jack used to monitor composite audio and test and erase tones
- A STATUS light used to show a satisfactory completion of the initiated built-in test (IBIT). This is a light emitting diode (LED)
- A TEST switch sends a discrete input to the CVR to command self-test (IBIT). Push this switch for one-half second minimum to start the self-test
- An ERASE switch is pushed continuously for at least one-half second to start the bulk erase of the recordings
Remote Area Microphone
04/28/16
Impact Switch
The impact switch is installed at FS908 left side, adjacent to HF transceiver No. 1 in the aft equipment compartment. It is a sealed device with a connector and a reset switch. It controls the primary aircraft power to the CVR. An impact force of 3G or more will cause the impact switch to open its contacts and a red light on the switch will illuminate. This removes the primary aircraft power to the SSCVR, thus preventing the overwrite operation. Push the reset pushbutton on the impact switch to reset the contacts and turn off the warning light.
04/28/16
Erase Interlock Relay
The erase interlock relay is installed in the JB4 junction box in the copilot side console at FS250R. This relay prevents bulk erase operation in flight. It is energized to close the contacts for the bulk erase discrete signal to go through when the aircraft is on ground and parking brake is set. It receives 28 VDC power from DC BUS 2 through SPDA 1.
04/28/16
System Operation
The main function of the SSCVR is to record audio, digital communications data, and timing data to crash-protected memory. The SSCVR must also perform operator-initiated erase and test functions, using discrete control signals activated by pushbuttons in the cockpit. In order to provide controlled operation, power-up initialization and power-down monitoring must also be performed. The SSCVR also provides download and test modes in order to download the stored data and to test the unit for return to service.
Memory Characteristics
The SSCVR provides storage for two hours of consecutive recording for each of the four audio input channels and ancillary system data (memory pointers, elapsed time, etc.) into crash-protected memory. Each separate physical memory device in the crash-protected memory includes an electrically-embedded identification to ensure proper sequencing of the data in the unlikely event that the memory devices become dislodged from their correct positions on the circuit board.
Recording of data to the solid-state memory array is partitioned such that the narrowband voice channels are stored in physically separate devices from the wideband area channel. This provides data redundancy in the unlikely case of memory device failure. The recording process allows only a maximum of 11 adjacent seconds of audio to be stored in any memory device.
Power Up
The power-up function performs power on the built-in test (BIT) to determine the integrity of the system. If a failure is detected, the failure condition is stored in crash-protected memory, the front panel BITE indicator is continuously activated and the maintenance discrete is set in the failure mode.
Record Test Status
The record, test, and status function stores audio, digital communication and timing to the crash survivable memory. This function also stores ancillary data such as configuration data, memory start/stop pointers, BIT data, elapsed time indicator (ETI), error logging data, and repair history. In addition to the recording process, the status monitor function performs a background test to verify correct operation of the unit. If a failure is detected, the front panel BITE indicator is continuously activated, and the maintenance discrete is set in the failure mode.
Push-To-Test
The push-to-test function is activated using a discrete input to the SSCVR using a pushbutton switch on the control panel.
The TEST switch on the control panel must be pushed for more than one-half second to supply the push-to-test discrete signal to the CVR. Once activated, this function performs an extensive set of functional tests to determine the integrity of the system. A successful self-test activates the status discrete output for one second. In the cockpit, one activation of the status discrete turns on the control panel LED. In addition to the visual indication, an aural indication is also provided through the audio monitor output received at the microphone monitor a two-second 800 Hz tone is sent to indicate successful self-test.
If a failure condition exists, the status discrete output is not activated and the aural tone is not provided resulting in no indication in the cockpit. Also, if a failure occurs, the failure condition is stored in crash-protected memory, the front panel indicator is continuously activated, and the maintenance discrete is set to the failure mode.
If the TEST switch is pushed continuously, multiple 800 Hz tones will be heard and the STATUS light will come on and go out continuously; this procedure is not recommended but also shows satisfactory recorder self-test.
Push To Erase
The push-to-erase function is activated using a discrete input to the SSCVR, activated using the control panel pushbutton switch for at least 1/2 second when the parking brake and landing gear relays are closed. This function disables the ability to download the previously recorded data from the crash-survivable memory using the normal download function. This function does not erase ancillary system data such as configuration data, memory start/stop pointers, BIT data, etc. In order to provide an indication that the erase was successful, a three second 400 Hz tone is sent through the audio monitor channel to the control panel. The erase function is completed within five seconds of activation.
Power Down
When a power failure occurs, the SSCVR enters the power-down function. Recording continues while in this mode. If the power failure condition exists for more than 200 milliseconds, housekeeping tasks are performed to provide a graceful power-down sequence (pointers saved, store buffered data to crash-survivable memory, etc.). If the power is recovered after 200 milliseconds but before a hardware reset is issued, the record function is reactivated. If power does not recover, recording will cease until power is again applied.
Download and Test
The download and test function provides an interface for the ground support equipment (GSE). This function provides the ability to download the crash-survivable memory data using the Honeywell playback and test station (PATS) via a high-speed serial interface. This function is activated when the record ON input discrete is disconnected from the record ON output discrete.
Clock Input
The clock input is a low-speed ARINC 429 channel used to record time data into crash survivable memory to provide time correlation with the flight data recorder. The clock input is from the pilots clock through digital acquisition unit 4.
04/28/16
System Interface
Power Input
The 28 VDC power input to the SSCVR comes from the secondary power distribution assembly (SPDA 3) which is fed from the DC ESS BUS. It goes through the impact switch.
The power input to the CVR control panel is an 18 VDC input from the SSCVR.
The CVR erase control relay is powered from a 28 VDC input from DC BUS 2 through SPDA 1.
Erase Signals
The erase signal is sent from the SSCVR to the erase relay. When the weight-on-wheels and the parking brake signals are present, the relay is energized and the erase signal is forwarded to the control panel. If the erase switch is pressed, the signal is returned to the SSCVR and prevents the audio contents of the memory from being played back. The ancillary signals (timing, fault recording, etc.) are not affected.
Microphone Inputs
Channels 1, 2, and 3 are narrowband channels used to record the voices of the flight crews. The area microphone inputs go to the audio panels and then to the SSCVR. Channel 4 is a wideband audio monitor. The audio signals picked up by the area microphone is located on the overhead panel are sent to the CVR control panel. They are sent through an audio filter and an amplifier in the CVR control panel and then forwarded to the SSCVR.
Record Jumper
The record jumper is a strap input that starts the recording process as soon as power is applied to the system. It is connected to the CVR mounting tray connector to enable the record function.
Test Signal
The push-to-test switch is used to initiate a test sequence within the SSCVR.
Audio Monitor
The audio monitor line provides a composite audio signal that is a summation of the four input audio channels to the phone jack on the control panel.
Attenuation Jumpers
The attenuation jumpers are used to set the gain on the audio amplifier for the area microphone. The gain is set for 12 dB.
Status
The status discrete output is used to drive a status indicator (LED) on the control panel after successful completion of the test sequence.
System Test
Built-In Test (BIT)
The SSCVR implements BIT functions using three methods Power-on initialization, Commanded self-test and Background continuous test.
A history of the BIT status is maintained in crash protected solid-state memory for product trend analysis and warranty support. In addition, the SSCVR provides a maintenance discrete output and front panel indicator to indicate BIT failures. Commanded self-test indication is provided through the status discrete output and audio monitor output.
Power-on Initialization
Power-on initialization verifies operation of the SSCVR insofar as it is practicable given the specified 250 millisecond power on to recording delay. Functions tested include the main processor, RAM memory check, program checksum verification and partial testing of the audio interface.
Commanded Self-Test
This test is initiated by pressing the TEST button for 0.5 seconds on the CVR control panel and is a more complete test. The STATUS indicator on the CVR control panel illuminates for 2 seconds, and a 2 second 800 kHz tone is sent to the HEADPHONE jack to indicate a successful test.
Background Continuous Test
The background continuous monitor test utilizes spare processor time to continuously monitor the integrity of the SSCVR. All BIT failures are recorded in solid-state memory for extraction by the GSE.
Playback and Test Station (PATS)
The Honeywell PATS 960-0308 is a PC-based system, available for shop level maintenance.
It downloads SSCVR solid-state memory, plays back stored digital, timing, audio, and other data in a visual and audio format. It is also used for acceptance testing of the SSCVR.
09/04/20
Component Location Index
| Component Location Index | |||
|---|---|---|---|
| IDENT | DESCRIPTION | LOCATION | IPC REF |
| A51 | COCKPIT VOICE RECORDER (CVR) | ZONE(S) 311 | 23-71-01 [ GX ] [ GXRS ] [ G5000 ] |
| A44 | CVR CONTROL PANEL | ZONE(S) 222 | 23-71-05 [ GX ] [ GXRS ] [ G5000 ] |
| AP25 | REMOTE AREA MICROPHONE | ZONE(S) 220 | 23-71-09 [ GX ] [ GXRS ] [ G5000 ] |
| S4 | IMPACT SWITCH | ZONE(S) 311 | 23-71-17 [ GX ] [ GXRS ] [ G5000 ] |
| - | UNDERWATER LOCATING DEVICE (ULD) | ZONE(S) 311 | 23-71-21 [ GX ] [ GXRS ] [ G5000 ] |








