04/28/16
Overview
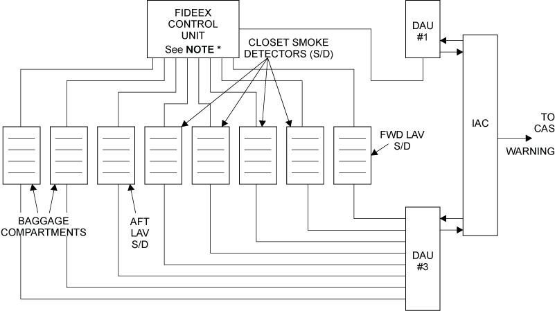
The function of the smoke detection system is to sense smoke in the aircraft and to give the applicable indications in the flight compartment. Smoke detectors supply smoke detection in the passenger compartment and the avionics bay. The fire detection and extinguishing control unit (FIDEEX CU) monitors these elements and detectors, and provides their condition for CAS indication.
The smoke detection system is a subsystem of the fire detection system. The smoke detectors have interfaces with the fire detection and extinguishing (FIDEEX) control-unit and the avionics system.
The FIDEEX control supplies the 28 VDC power to the smoke detectors. This control unit supplies the test signal and controls all the monitor functions. The FIDEEX control unit also identifies the smoke area and the system faults when they occur. A built-in test lets the system do a test automatically. To do a test manually, you can push the FIRE SYSTEM TEST button on the electrical management-system control and display unit (EMS CDU).
Note* :
Both channels A & B of the FIDEEX CU receive/send all applicable signals shown here.
11/08/19
Smoke Detection System
When the smoke detector senses smoke, it sends a discrete signal directly to the avionics system through a data acquisition unit (DAU). Also the smoke detector sends a signal to the FIDEEX control unit. These alarm outputs from the smoke detector are electrically isolated from each other.
The avionics system applies an OR logic to two alarm signals. The indications that follow occur in the flight compartment:
- Smoke warning on the engine indication and crew alerting system (EICAS) primary page
- Smoke warning voice
- Aural warning
- Warning light.
You can set again the warning light and the aural message. The EICAS message continues to display until the smoke detector does not send the alarm signal.
Provisions are made for the installation of a maximum of 8 smoke detectors throughout the pressure cabin. Their actual distribution in the cabin will depend on the customer's choice of cabin configuration.
Regulations current in different global regions may make installation in a variety of specified areas mandatory on different Global Express airplane serial numbers.
Smoke detectors in lavatories, baggage compartment, and the avionics bay are generally mandatory. Other possible areas of customer's choice for smoke detector installation are closets, crew rest areas, and galley areas.
Smoke detector operation is based on a light sensitive device inside the smoke detector sensing smoke as an obstruction through the body of the detector signaling a "Smoke Alarm" to the control unit.
Each smoke detector also incorporates an internal heat sensor that triggers the appropriate aural and EICAS warning when an overheat condition occurs. The heat sensor functions at 115 °C/239 °F.
Pipelines are routed to the detectors from the areas immediately surrounding the ejector (such as the ceiling of the lavatory or the closet) to ensure that any smoke will be sensed by the detector.
Each smoke detector is individually monitored as are the other detection systems by the FIDEEX CU. Subsequent warnings will be displayed through CAS and voice warnings, similar to fire and overheat warnings.
Note that the CAS messages associated with smoke detection are CAUTION messages only.
Avionics Compartment Smoke Detectors
On Global 5000:
There are two smoke detectors in the avionics compartment and one in the avionics rack. In the avionics compartment one smoke detector is installed between FS310+32.00 and FS328+32.00. The other is installed at FS541. In the avionics rack the smoke detector is installed between FS281.50+32.00 and FS300.31+32.00.
On Global Express/XRS:
There are two smoke detectors in the avionics compartment. One is installed between FS429 and FS445. The other is installed at FS541.
Each smoke detector has a dual density chamber sensor. The smoke detector can identify a change in ion density made by smoke in the avionics compartment.
If smoke is found in the avionics compartment, the smoke detector sends a signal to the DAU and to the FIDEEX control unit. The avionics system shows on the EICAS primary page the message Smoke Avionics Bay. Also, a warning light comes on. The voice warning SMOKE occurs in the flight compartment.
System Test
The various warnings and the associated detection systems can be functionally tested using either one of the two electrical management system control display units (EMS CDUs) in the cockpit by first selecting FIRE PROTECTION System and then TEST.
Serviceability of each system is confirmed if the related CAS and voice warnings, as well as the red lamps in the three fire handles are activated during the test.



