Overview
The flap system has six high-lift flap panels, three for each wing. They are attached to the flap actuators in the trailing edge of the wings. The flap panels extend during aircraft take-off and landing, and retract when aircraft is in flight.
The function of the flap system is to control the extension and retraction of the flap panels of each wing. The flap actuators extend and retract the flap panels. Two flap actuators control each flap panel. The flap system has a flap skew sensor to monitor the malfunctions caused by a disconnected actuator.
The flap skew sensor is installed adjacent to each flap actuator. At each flap actuator station, the flap skew sensor transmits a signal to the slat/flap control unit (SFCU) in relation to the trolley position on the flap track.
The SFCU compares the signal of each flap skew sensor to find if there is skew in the flap panel position. If skew occurs, the flap system operation stops and the asymmetry brakes are set. When the flap system operation stops because of skew, the flight crew cannot override the flap system.
05/05/16
Flap-System Torque Tubes
There are three models of torque tubes: female/female, female/male and male/male. They are cylinders of different lengths and are installed in the trailing edge of the inboard, mid, and outboard wing sections and in the main landing gear (MLG) wheel well.
There are 23 torque tubes that transmit power from the PDU to the flap actuators which are connected directly to the mobile structure through angle gearboxes and support bearings. The right side has one extra shaft located between the PDU and the angle gearbox in the main wheel well. Four angle gearboxes provide the angular transition required at the wing/fuselage area. Axial offsets at actuators no. 3 and 4 are provided through transfer gearboxes. Five bearing support assemblies are installed along the torque tubes on each side.
The torque tubes have universal joints to absorb incorrect system alignment and have a pin at one end to prevent axial movement. There are ten support bearings installed in the trailing edge of the inboard, mid, and outboard section of each wing. There are two types of support bearings: plain and drilled.
Each support bearing has a cylindrical shape and a plate with three holes for use to attach to the aircraft structure and to make the mechanism more rigid. A shaft goes through the support bearings to connect them to the torque tubes. The support bearings transmit torque and turn-movement in the torque tubes.
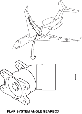
Flap-System Angle Gearboxes
The angle gearboxes are solid cylinders with a hollow shaft on one side that receives the male end of the torque tube. On the other side, they have a male shaft which goes into the female part of the torque tube.
The angle gearboxes are installed in the MLG wheel well and in the trailing edge of the mid and outboard wing sections.The angle gearboxes transmit torque and turn-movement to the flap torque tubes. They have the drilled shafts for the attachment of the torque tubes.
Flap System Actuators
There are eight flap system actuators, four on each wing. The flap system actuators are installed in the trailing edges of the inboard, mid and outboard wing sections. They are of the linear ballscrew type with ballscrew shafts. Each flap system actuator has a fixed end with a bearing for its attachment to the aircraft structure. The movable end of the flap system actuator is attached to the flap to extend and retract the flap.
The PDUs control the operation of the flap system actuators through the torque tubes. The flap system actuators transmit force to the spars on the trailing edges of the wings. Each flap system actuator has a force limiter device to make sure that torque is not sent back through the torque tubes if the flap surfaces are caught or damaged.
The rotary input from the PDU is converted to linear motion at the ballscrew actuator and is transferred to the six panels that are attached to eight carriage assemblies that ride on eight tracks. There are five different flap actuators. Numbers one, three and four are paired, and there are separate LH and RH number two actuators. The shafts on the number one actuators do not rotate, all others do. The No. 4 Flap actuator is the master. It is rigged so only its mechanical stops will make contact. The actuators include force limiters to protect the aircraft structures from PDU torque damage because of a roller or track jam. These force limiters are self-resetting when the direction of rotation is reversed.
The No. 3 and 4 actuators incorporate mounting pads for the transfer gearboxes and a Skewered No-Backs feature. Transfer gearboxes are used on No. 3 and 4 positions where there is insufficient room for a simple actuator. The transfer gearbox allows the input from the drive shaft to be offset. The actuators internal Skewed No-Back is a skewed (offset) radial roller thrust bearing positioned between two plates. The angle of the roller relative to the path of its travel causes the roller to skid or lock up depending on whether it is driven or driving. Therefore in the event of gear or driveline failure outboard of the No. 2 actuator, air loads on the flap actuator will result in a jam and shutdown of the system. In the event of gear or driveline failure inboard of the No. 2 actuator, the actuator or PDU torque limiters will cause a jam and shutdown of the system.
Flap Panels
Three fowler flap panels per wing are installed on the wing trailing edge. They are positioned by four actuators per wing. The actuators are numbered from one to four from the inboard out. The number one flap actuator is located approximately two feet outboard from the inner flap track. Number two actuator is located between panels one and two. Number three is between panels two and three, and number four is located at the outboard end of panel three. The flaps are attached to carriages, which follow flap tracks that are attached to the wing structure. Fairings cover the carriage/track assemblies when flaps are retracted.
The inner flap, middle flap, and outer flap panels are multi-spar structural boxes with rib and skin installed. They are installed on the trailing edge of the inboard wing, mid-wing, and outboard wing section.
The flap panel structure has the components that follow:
- Front, No 1 mid, No 2 mid, and rear spars
- Front, mid, and rear spars
- Ribs
- Upper and lower graphite-laminated skin panels
- Graphite-laminated leading edge skin
- Two graphite-laminated leading edge skins
- Graphite-laminated/nomex honeycomb sandwich trailing edge
The wing holds the flap panels by the carriage on the flap tracks, and, by the flap attachment fittings hung from the ribs in the flap structure.
The leading edge of the inner flap panel is made of a two-section graphite-molded lamination, and is attached to the inner flap front spar. The access panel for the flap actuator attachment fittings is made of machined aluminum sheet in two sections, and it is attached between the leading edge skins. The leading edge is made from a graphite molded lamination, and is attached to the middle flap front spar. The flap actuator attachment fitting is attached on the lower skin.
Roller Carriages
The roller carriages are metal frames that are attached to the bottom of the flaps. They include the rollers that move the flaps along the rails (the flap tracks). The flap tracks are attached to the bottom of the wing trailing edges.
The position of the rollers can be adjusted to keep a maximum distance between the forward and aft sub-rollers and the flap tracks for the different flap positions.
05/05/16
Flap Power-Drive Unit (PDU)
The flap power-drive unit (PDU) is installed in the wheel well of the MLG below the pressure floor.
The PDU receives 270 VDC square wave input from the control unit and drives the torque tube drive shafts. Identical units are used for the Slats and Flaps. In the Slat circuit it is installed with the output shafts below the motors and in the Flap position the output shafts are above the motors. The PDU is mounted to the airframe with four bolts. There are drain plugs in the top and bottom of the housing to allow for interchangeability between Slat/Flap positions. The lower drain plug for the particular position is removed to allow any condensation to drain. The PDU assembly includes 2 brushless motor/brake assemblies, a differential, a gearbox, a slip clutch and two torque limiters. It has a circular body with shafts on the two faces which transmit torque and turn-movement. During normal operation both motor/brake assemblies operate simultaneously. If either fails, the Slat/Flap will continue to operate at one-half of the normal speed.
Each motor also has a field director sensor, which determines speed and direction of rotation. A self-resetting temperature sensor with normally closed contacts set to open at 200 °C is built into the windings providing overheat protection.
There is a friction-type brake between each motor and the differential gearset. The brake is normally engaged and electrically released by a solenoid in the SFCU. The differential sums the input motor torque under normal conditions. In a single motor operation the differential output is one half the normal speed and double the input motor torque. The slip clutch protects the system from motor inertia during deceleration due to a PDU torque limiter trip. The PDU torque limiter at the output of the PDU for each wing of actuator torque tubes provides protection in the event of a system overload or a jammed condition.
The PDU has the functions that follow:
- Change electrical input into torque and turn-movement outputs to move the flaps
- Supply system brake and position hold for usual operation
- Limit the torque to prevent damage to the system and aircraft in malfunction mode conditions
- Supply a slip clutch function to prevent damage to the gearbox and motor in malfunction mode conditions
Flap Power Drive Unit (PDU) Motors
The flap power-drive unit (PDU) motors are installed in the wheel well of the MLG and move the actuators by torque tubes.
The PDU has two motors and each motor has four electrical connectors. Two electrical connectors are for the motor windings and the other two are for the thermal switch, brakes, motor field and motor field director. The SFCUs control the PDU.
In usual operation, the output of the PDU is the sum of the speed of the two motors. If a single-channel malfunction occurs (malfunction of a motor, PDU brakes, SFCU or other), the defective motor and brake supply a mechanical ground. The PDU operation is decreased to half speed with the use of a single motor.
05/05/16
Flap Resolvers
There is a flap resolver installed on the outboard flap actuator of each wing. The flap resolver is a dual-channel resolver. The dual-channel resolver includes a housing and one electrical connector. It transmits an analog position signal to the SFCUs in relation to the angular movement of the torque tubes (surface position).
The flap resolvers have a cylindrical shape and a triangular plate with holes in the corners for their attachment to the outboard flap actuator. They have a smooth shaft with a hole for a pin. The shaft transmits a change-of-state signal when turned.
Mounted outboard of last actuator on each side, the resolver provides the SFCU with a signal representation of Slat/Flap position. A rotor in the resolver is rotated inside the stator through approximately 143 degrees for full Slat travel and 308 degrees for Flaps. The output voltage is proportional to position. Timing marks are provided for rigging purposes. The marks are 20 degrees either side of electrical zero and cover both left and right wing installations since the resolvers will rotate in opposite directions. The left wing resolver is rigged to the 20 degrees position while the right side is set to 340 degrees for full retraction.
Flap Skew Sensor
The flap skew sensor is a cylinder with a bearing at each end. One end of the flap skew sensor is fixed and the other end is movable. An electrical connector is connected near the fixed end of the flap skew sensor. There are eight flap skew sensors, four on each wing. They are installed in the trailing edge of the inboard, mid, and outboard section of the wing, adjacent to each flap actuator.
The flap skew sensor monitors for malfunction of the flap actuator to disconnect. It has a single-channel linear variable differential transformer (LVDT), which sends signals to the SFCU in relation to the trolley position on the flap track.
Flap Asymmetry Brakes
There are two flap asymmetry brakes, one for each wing. The flap asymmetry brakes are cylinders with an electrical connector and a rotating shaft. The rotating shaft transmits movement to the torque tubes. Each flap asymmetry brake is installed on the trailing edge of the wing, near the outboard flaps.
The flap asymmetry brakes are engaged by two springs and are released by a solenoid in the SFCU when the SFCU receives a movement input signal. The SFCUs control each solenoid and each SFCU can release the flap asymmetry brake.
The flap asymmetry brakes are of a mechanical-interference type and are engaged when the system is static. The flap asymmetry brakes are not engaged dynamically.
The flap asymmetry brakes have the functions that follow:
- Protect against flap asymmetry in malfunction-mode conditions
- Position hold if a PDU brake malfunction occurs
- Transmit torque and turn-movement
One Asymmetry Brake Unit is installed in the Slat/Flap drive line inboard of each outboard actuator to prevent back driving. There are two separate brake actuation coils in each of the asymmetry brakes, one controlled by each of the SFCUs. Energizing either coil will result in brake release. During normal operation, both coils are energized to release the brake; during single channel operation, only one coil is used to release the brake.
Flap Drive Shafts
23 drive shafts transmit power from the PDU to the Flap actuators. The right side has one extra shaft located between the PDU and the angle gearbox in the main wheel well. Four angle gearboxes provide the angular transition required at the wing/fuselage area. Axial offsets at No. 3 and 4 actuators are provided through transfer gearboxes. Five bearing support assemblies are installed along the torque shafts on each side.
05/05/16
Control Lever
A five-position control lever for both Slats and Flaps is located on the center pedestal, immediately to the right of the Emergency/Parking Brake handle and aft of the thrust levers. The most forward position is the Slats IN/ Flaps 0 degree position. The next position back is Slats OUT/ Flaps 0. There is a gate between these positions; the trigger on the lever must be pulled up to change positions. The other three positions are for Flaps only: 6 degrees, 16 degrees and 30 degrees. All positions are gated except for selections out of 16 in either direction where the lever is detented. The detent allows for the flight crew to select the go-around position with a minimum effort in the event that a landing cycle must be aborted.
The control lever receives 115 VAC 400 Hz input power from the SFCUs. Lever position is determined by four Rotary Variable Displacement Transducers (RVDTs), two supplying inputs to each SFCU. The lever assembly is constantly monitored by the SFCUs for RVDT readings outside the normal zone or an excessive difference between RVDTs. Any SFCL failures will result in single channel, half speed operation of the system. Faults will be annunciated on EICAS.
| SLAT / FLAP CONTROL HANDLE SETTINGS SLATS FLAPS | SLAT/FLAP SURFACE POSITION | HANDLE GATED or DETENTED | |
|---|---|---|---|
| OUT | 0 degree | 20 deg. SLATS / 0 deg. FLAPS | GATED |
| OUT | 6 degrees | 20 deg. SLATS / 6 deg. FLAPS | GATED |
| OUT | 16 degrees | 20 deg. SLATS / 16 deg. FLAPS | DETENTED |
| OUT | 30 degrees | 20 deg. SLATS / 30 deg. FLAPS | GATED |
09/28/20
Component Location Index
| Component Location Index | |||
|---|---|---|---|
| IDENT | DESCRIPTION | LOCATION | IPC REF |
| - | FLAP-SYSTEM TORQUE TUBES | ZONE(S) 165 ZONE(S) 561/661 ZONE(S) 571/671 ZONE(S) 581/681 |
27-52-01 [ GX ] [ GXRS ] [ G5000 ] |
| - | FLAP-SYSTEM ANGLE GEARBOXES | ZONE(S) 165/166 ZONE(S) 571/671 ZONE(S) 581/681 |
27-52-05 [ GX ] [ GXRS ] [ G5000 ] |
| - | FLAP SYSTEM ACTUATORS | ZONE(S) 561/661 ZONE(S) 571/671 ZONE(S) 581/681 |
27-52-09 [ GX ] [ GXRS ] [ G5000 ] |
| - | ROLLER CARRIAGES | ZONE(S) 560/660 ZONE(S) 570/670 ZONE(S) 580/680 |
27-52-33 [ GX ] [ GXRS ] [ G5000 ] |
| B11/B12 | FLAP POWER-DRIVE UNIT (PDU) | ZONE(S) 165/166 | 27-52-37 [ GX ] [ GXRS ] [ G5000 ] |
| B11/B12 | FLAP POWER DRIVE UNIT (PDU) MOTORS | ZONE(S) 165/166 | 27-52-41 [ GX ] [ GXRS ] [ G5000 ] |
| MT68/MT73 MT69/MT74 MT70/MT75 MT71/MT76 |
FLAP SKEW SENSOR | ZONE(S) 561/661 ZONE(S) 571/671 ZONE(S) 581/681 |
27-52-45 [ GX ] [ GXRS ] [ G5000 ] |
| MT67/MT72 | FLAP RESOLVERS | ZONE(S) 581/681 | 27-52-49 [ GX ] [ GXRS ] [ G5000 ] |
| A128/A129 | FLAP ASYMMETRY BRAKES | ZONE(S) 581/681 | 27-52-53 [ GX ] [ GXRS ] [ G5000 ] |





















