05/23/16
Overview
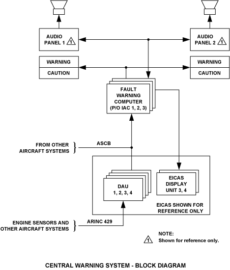
The central warning system supplies system alerts to the flight crew when unsatisfactory aircraft conditions occur. The central warning system interfaces with the EICAS, the audio integrating system and the lamp dimmer power supply system to provide aural alerts and PBA lights. The aural alerts are provided in a priority order to prevent multiple alerts. The annunciations are designated as follows:
- Warning messages (red)
- Caution messages (amber)
- Advisory messages (cyan)
- Status messages (white)
- Master warning lights (flashing red)
- Master caution lights (flashing amber)
The master warning/caution lights are enabled by the integrated avionics computers (IACs) through the contacts of the master warning and master caution relays located in junction box no. 4. The master warning light will flash to alert the flight crew anytime a warning message is displayed on EICAS. The master caution light will flash to alert the flight crew anytime a caution message is displayed on EICAS. The CAS function also sends signals to the audio panels to supply aural messages for warning and caution alerts. Pressing the master warning or caution light will cancel the flashing light but the message will remain on the EICAS display.
The PBAs are powered by three lamp dimmer power supplies and are turned on when the data acquisition units (DAUs) supply a ground.
05/23/16
Fault Warning Computer (FWC)
Each IAC contains a fault warning computer (FWC) that provides a number of functions for the electronic display system (EDS) and other avionics systems. The line replaceable units (LRUs) for the FWCs are IAC 1, IAC 2, and IAC 3. Each of the three IACs in the IAC system has a FWC. The three FWCs operate in parallel. They receive the same data on the avionics standard communications bus (ASCB) from the data acquisition system. But only the primary FWC gives a CAS output.
The primary function of the FWC system are:
- System Alerts and Aural Warning Control
- Engine Indication and Crew Alerting System (EICAS) Display input
- Engine Trend and Limit Monitoring
- Integrated Maintenance Test (IMT) Interface
The crew alerting system message display is controlled by the high priority FWC. The high priority FWC is the IAC that is selected to provide the EICAS primary display. Messages are prioritized by the FWC. The FWC also provides normal, abnormal and emergency checklists.
Four data acquisition units (DAU) receive data from engine sensors and other aircraft systems that monitor aircraft conditions. The primary FWC uses this data to supply the warning, caution, advisory, and status messages shown on the EICAS display units. For warning and caution alerts, the FWC also sends applicable signals to the warning/caution control system and audio panels.
The EICAS knob on the reversion control panel makes the selection of the primary FWC. This makes sure that the primary FWC always connects to the EICAS display channel set by the pilot. The EICAS display shows warning, caution, advisory, and status messages in the CAS field of the display. The flight crew uses the EICAS scroll knob on the EICAS control panel to scroll through the CAS messages (except the warning messages). The four types of CAS messages are shown in the table that follows:
|
CATEGORY |
DISPLAY COLOR |
AURAL ALERT |
MASTER LIGHT |
|---|---|---|---|
|
Warning |
Red |
Three Chimes and Voice |
Warning |
|
Caution |
Amber |
One Chime |
Caution |
|
Advisory |
Cyan |
None |
None |
|
Status |
White |
None |
None |
The FWC monitors the display unit (DU) configuration for the EICAS display. It uses inputs from the EICAS control panel to keep the display configuration set by the pilot. If a power failure occurs, the FWC writes the configuration data into non-volatile memory (NVM). When power comes back, the NVM data sets the display configuration set earlier by the pilot.
The FWC also writes engine trend and limit data in NVM for later use. The NVM contains aircraft, system, and engine data collected during flight. The FWC supplies an alert when the available memory space in the NVM is 80% full. After landing, the maintenance crew can show, download, and remove the data from the NVM.
05/23/16
Warning/Caution Control System
The warning system is part of the engine indication and crew alerting system (EICAS).
The warning system supplies aural alerts and annunciator lights. Aural alerts are made in priority order.
The warning system has interfaces with the systems that follow:
- EICAS
- Audio integrating system
- Lamp-dimmer power-supply system
Annunciator Lights
The annunciator lights are energized (high side) by three lamp dimmer power supplies. The ground side is supplied to the annunciator lightsby the data acquisition units (DAUs) but not to the master warning/master caution lights. The master warning/master caution lights are grounded by the integrated avionics computers (IACs) through the contacts of the master warning relay and the master caution relay.
Aural Warning System
The aural warning system supplies warning sounds (tones) and voice messages through the audio integrating system. A triple chime comes on before a voice message or a series of voice messages. There is approximately ½ second between the end of one tone/voice message and the start of the subsequent tone/voice message.
DAU 1, 2, 3, and 4 detect a failure signal from an engine sensor or an aircraft sensor through the ARINC 429 bus. Other aircraft signals are sent along the avionics standard communications bus (ASCB) and operate the tone generators in IAC 1 and IAC 2. IAC 1 and IAC 2 operate in a master/slave relation. In turn, the cockpit speakers 1 and 2 give an aural warning.
When the IAC 1 MUTED switch/light on the AURAL WARNING panel is set, the MUTED light comes on and the aural sound goes off. When the IAC 1 switch/light is set again, the MUTED light goes off and the aural sound goes on.
When the IAC 2 MUTED switch/light on the AURAL WARNING panel is set, the MUTED light comes on and the aural sound goes off. When the IAC 2 switch/light is set again, the MUTED light goes off and the aural sound goes on.
The request for a voice or tone comes from any fault warning. It is possible that the requested voice or tone is not the same as the active voice or tone outputs. The aural warning function starts each enabled tone in sequence from the highest priority to lowest priority. It repeats the sequence and starts at the highest priority. If a tone/voice message is enabled and has a higher priority than the current tone/voice, the sequence starts again. It starts again at the new tone/voice message when the current one is complete.
Master Warning/Caution Relays
The master warning/caution relays are located on printed circuit board (PBC) 5 in the aircraft junction box no. 4, located in the underfloor avionics compartment on the Global Express and Global XRS or in the above floor avionics rack on the Global 5000. The relays are energized by the secondary power distribution assembly (SPDA) 1 on the high side. The low side of the coil is supplied by the IACs. When IACs detect a failure situation, the IACs send a master warning or caution "LO" to energize the respective relays. Subsequently, a ground is sent to turn on the master warning or master caution lights.
MASTER WARNING/CAUTION Panel
There are two MASTER WARNING /CAUTION panels. One is installed on the left glareshield for the pilot. The other is installed on the right glareshield for the copilot. Each master warning/caution light has two parts contained in a pushbutton switch. The top part is the warning indicator (red), and the bottom part is the caution indicator (amber).
Master Warning/Caution Switch/Lights
If a warning occurs, the WARNING lamps flash red. When one of the two switch/lights is pushed, a ground is supplied to the IACs and resets the master warning lights and some aural warnings.
If a caution occurs, the CAUTION lamps flash amber. When one of the two switch/lights is pushed, a ground is supplied to the IACs and resets the master caution lights.
Lamp Dimmer Power Supply
There are three lamp dimmer power supplies (LDPS). Two are installed in the pilot’s console FS235L and FS270L. The third is installed in the copilot’s console at FS235R. The LDPSs provide bright (BRT) or dim (DIM) voltage to the cockpit annunciators. The PBA BRT/DIM switch is located on the Cockpit Flood/Lights control panel on the center console.
Lamp Test Relay
The lamp test relay is installed on PCB 5 in junction box 3 in the main avionics compartment for Global Express/XRS and in the avionics rack for Global 5000. This relay comes on when lamp test 1 or 2 is started on the EMS CDU. The high side of the relay coil is energized by SPDA 1 and the low side is energized by DAU 3. When the contacts of relay are closed, the annunciator lights of flight management system control display (FMS CDU) 1 and 2 and the guidance panel come on bright only. They are not affected by the dim switch.
Aural Warning Disable Panel
The aural warning disable panel is located on the left-hand side of the overhead panel. The pushbutton annunciators allow the flight crew to mute the aural warning from the selected IAC.
Aural Warning Switch/Lights
These switch/lights are the push-on/push-off alternate type of switch. If necessary, the flight crew can remove the operation of the aural warning system when they push the IAC 1 or the IAC 2 switch/lights on the AURAL WARNING panel. Then, the MUTED lamp comes on.
05/23/16
System Operation
Fault Warning Computer
Each IAC contains a fault warning computer (FWC) that provides several functions for the EDS and other avionics systems. Non-volatile Memory (NVM) is provided with the FWC for data storage. The data stored in the FWC NVM includes the following:
- FWC fault history
- EDS fault history
- CAS messages
- Engine exceedance data
- Engine trend data
The primary function of the FWC is to display warning, caution, advisory, and status messages. The FWCs receive data via the ASCB bus and ARINC 429 buses.The FWC compares eight critical flight parameters from the PFD and the EICAS primary display with the DAU source data and alerts the pilot if they differ. The critical data compared from the PFD are the pitch and roll, barometric altitude, IAS, and BARO set data and from the EICAS primary page, the N1, N2, and ITT engine parameters.
CAS messages are prioritized by the FWC and the CAS display is controlled by the priority FWC. All three FWCs operate in parallel, processing the same information. However, one FWC has priority, and all systems which use FWC information, use data from that FWC. The priority FWC is in the IAC providing the EICAS display format. A miscompare of the three FWCs activates an amber FWC message on the PFD. The priority FWC can be changed by using the reversionary controller.
The three FWCs perform the same computations and monitor for internal faults by a message checksum. The message checksum is generated by each operating FWC and is monitored by the display processors in each IAC. A miscompare of the message checksums activates an amber FWC message on the PFDs.
The FWC also provides the pilot with a selectable checklist. The checklist has stored text data for normal, abnormal and emergency checklist system pages. Major functions of the FWC include:
- CAS message processing and control
- Display control processing
- Aural warning control, voice and tone generation
- CAIMS interface to aircraft systems
- Monitors and system alerts:
- Display Unit (DU) wraparound monitor
- Sensor comparison monitor
- Category II approach monitor
- Altitude alert
- Configuration module check
- Autopilot (AP) disconnect monitor
- Takeoff configuration monitor
- Landing gear WOW monitors
- Engine trend and exceedance monitoring
Fault Warning Monitors
Several functions are monitored by the FWC to detect and annunciate any failures or invalid configurations. The functions are as follows:
- Comparison monitors
- Sensor miscompare
- Configuration miscompare
- DAU miscompare
- Altitude alert
- Autopilot (AP)monitors
- AP failure detection
- AP latent failure monitor
- AP engagement status monitor
- IAC software configuration monitor
- Weight-on-wheels (WOW) monitor
- Takeoff configuration monitor
- Landing gear horn monitor
- Category II
Sensor Miscompare Monitor
Displayed pilot and copilot PFD source data is compared by the FWC. If the difference between the data exceeds predetermined limits, an amber miscompare annunciation is displayed for the appropriate sensor on the PFD. The sensor inputs compared and respective PFD annunciations are detailed in as follows:
Sensor Miscompare Annunciations
| SENSOR | MISCOMPARE ANNUNCIATION |
|---|---|
| Roll or Pitch | "ATT" |
| Airspeed | "IAS" |
| Altitude | "ALT" |
| Heading | "HDG" |
| Localizer | "LOC" |
| Glideslope | "GS" |
| Radio Altitude | "RAD" |
Configuration Module Miscompare Monitor
The FWC performs a comparison of each IAC configuration module with the IAC configuration module status. This is accomplished by computing a checksum of the configuration module discretes and comparing them. A miscompare is annunciated as a CAS advisory message IAC CONFIG MISMTCH.
Altitude Alert
The selected altitude is displayed as a bug on the altitude tape and a digital readout above the altitude tape. Capture mode: As the aircraft approaches within ± 1,000 feet of the selected altitude, an altitude capture aural alert (C chord) is annunciated once and the altitude select digits and bug change from their normal color to amber. The altitude select digits and bugs return to their normal color (cyan) when the aircraft is within 180 feet of the selected altitude.
No warning signals are generated within a 200 foot band of the selected altitude.
Departure Mode: If the aircraft altitude subsequently deviates from the selected altitude by ± 200 feet, an altitude departure aural alert (C chord) is annunciated once and the altitude select digits and bug change from their normal color to amber. The altitude select digits and bug return to their normal color when a deviation of 1,020 feet is achieved or the aircraft returns to within ± 180 feet of the selected altitude.
Autopilot Monitors
Autopilot Failure Detection
The FWC is designed to determine the validity of both Automatic Flight Control Systems(AFCS). Upon detecting a failure of either (or both) system(s), the data from the responsible system is invalidated and the appropriate CAS advisory message displayed:
"AFCS 1-2 FAIL"
Autopilot Latent Failure Monitor
The FWC monitors the state of the autopilot servo clutch control lines versus the AFCS engage status on the ASCB. Whenever a discrepancy is detected,the following CAS caution message with associated aural tone (single chime) is generated:
"AFCS ENGAGE INVAL"
Autopilot Engagement Status Monitor
Each FWC determines and outputs the appropriate engage status by examining the autopilot servo clutch control lines and the engage status transmitted by the AFCS on the ASCB. An autopilot mode engage status "APx" (where x = 1 or 2) is provided at the top of the PFD. The FWC provides normal and abnormal autopilot disengage (triple cavalry charge) aural annunciation.
Autothrottle Monitors
Autothrottle Engagement Status Monitor
Each FWC computes the engage status of the autothrottle (A/T). An A/T engage/disengage annunciation is provided at the top left of the PFD ADI sphere.The FWC provides normal and abnormal "AUTOTHROTTLE" aural annunciation.
Autothrottle Takeoff Hold Monitor
The FWC provides the "hold" function whereby the A/T is disabled during the takeoff from an airspeed greater than 60 knots until the aircraft has attained an altitude of 400 feet. During this period, "HOLD" is displayed for the active A/T mode.
Category II Monitors
The priority FWC provides and monitors the CAT 2 annunciating information during approach.
The CAT 2 status is set to CAT 1 after the approach mode is selected and conditions are satisfied for CAT 1, but not CAT 2. The CAT 2 status is also setto CAT 1 whenever a CAT 2 to CAT 1 downgrade event occurs. CAT 2 annunciation logic is monitored by FWC.
When the CAT 2 annunciation is active, a CAT 2 window that represents the CAT 2 deviation limit is displayed. The logic for the size of the window is monitored by the FWC.
The CAT 2 INVALID caution message is enabled whenever CAT 2 conditions become invalid after being enabled.
Display Unit (DU) Wraparound
The FWC monitors the data being displayed on the DUs via ARINC 429 inputs from the DUs. The monitor assures that the DUs are being updated and that the data being displayed matches the original sensor data.
Activity Counter Monitor
An "activity counter" from each DU is monitored continuously and is checked for activity. The check consists of verifying that an update count is; the activity counter ceases to be updated for 3 seconds, the DU is considered to be failed and a "CHECK DU x" CAS caution message is issued (where x = 1, 2, 3, 4, 5, or 6).
If a DU displaying an EICAS format fails the activity counter, an EICAS failure annunciation is provided on the PFDs (below and to the left of the ADI sphere). If both DUs displaying the PFD formats fail the activity counter monitor, a CHECK PFD CAS warning message is displayed and an associated aural warning issued (triple chime).
PFD Data Wraparound Monitor
Both the pilot and copilot PFD information displayed is monitored against appropriate sensor data.
A miscompare of any parameter for more than three (3) seconds results in the PFD being considered failed and an aural caution (single chime) and "CHECK DU x" CAS caution message being displayed (where x = 1, 2, 5, or 6). If both the pilot and copilot PFDs are detected to be failed, the CHECK DU x CAS caution message is replaced with a CHECK PFD CAS warning message and associated aural warning issued (triple chime).
The following sensor data is checked by the wraparound monitor:
- Pitch indicated airspeed
- Roll Mach
- Barometric altitude barometric set
Engine Data Wraparound Monitor
Engine data displayed on the primary EICAS display is monitored against the actual data being provided from the DAUs. A miscompare of any parameter for more than three (3) seconds results in the primary EICAS display being considered failed and an aural warning (single chime) and "CHECK DU x" CAS caution message being displayed (where x = 2, 3, 4, or 5). Note that this message may not be viewable depending on the failure. Wraparound failure of the primary EICAS, regardless of the format location are annunciated on the PFDs via an EICAS failure annunciation (below and to the left of the ADI sphere).
The following sensor data is checked by the wraparound monitor
- EPR
- N1
- ITT
IAC Software Configuration Monitor
Each processor in the IAC reports its current operating software to the FWC. Fault warning compares this identification with the IAC identification file stored in non-volatile memory (NVM). Any mismatch is annunciated via the appropriate aural caution (single chime) and a "IAC 1-2-3 INVALID" CAS caution message. This monitor is only active on the ground.
Weight-On-Wheels Monitor
Since there is a significant number of functions that use the WOW logic, the FWC tests the WOW discrete for proper transition from ground-to-air and from air-to-ground for each flight.
When airspeed reaches 70 knots on takeoff, the FWC stores the pressure altitude, and when the pressure altitude reaches 400 feet higher, the FWC verifies that the WOW discrete indicates In-Air. On landing, when the airspeed drops below 50 knots, the FWC again verifies that the WOW discrete indicates on-ground.
If either of the WOW verification checks fail to indicate the proper status, an IAC "1-2-3 WOW INOP" CAS advisory message is displayed.
Takeoff Configuration Warning Monitor
The fault warning computer performs takeoff configuration monitoring during taxi and takeoff roll. "Taxi" is defined as on-ground with both engines running, but with throttles below that required for takeoff (throttle lever angle (TLA) < 30°). "Takeoff Roll" is defined as weight-on-wheels and throttles set to an appropriate level for takeoff power (TLA ≤ 30°). The monitoring logic is independent of aircraft weight, altitude, and temperature.
When an unsafe takeoff configuration is detected, an appropriate CAS warning message is initiated accompanied by a mutable aural warning "NO TAKEOFF". The CAS message/aural warning remain activated until the unsafe takeoff configuration is corrected.
A simplified description of the monitor logic and respective CAS warning messages are detailed as follows:
Sensor Miscompare Annunciations
| PHASE | UNSAFE TAKEOFF CONFIGURATION | CAS MESSAGE | LEVEL |
|---|---|---|---|
| Takeoff Roll | Parking Brake on | "PARK BRAKE ON" | Warning |
| Takeoff Roll | Flaps or slats not in takeoff configuration | "CONFIG SLAT/FLAP" | Warning |
| Takeoff Roll | Spoilers out of takeoff range | "CONFIG SPOILERS" | Warning |
| Takeoff Roll | Stabilizer trim out of takeoff range | "CONFIG STAB TRIM" | Warning |
| Takeoff Roll | Rudder trim angle out of safe operating range for takeoff | "CONFIG RUD TRIM" | Warning |
| Takeoff Roll | Aileron trim angle out of safe operating range for takeoff | "CONFIG AIL TRIM" | Warning |
| Taxi | (Parking brake on) or (flaps or slats not in takeoff configuration) or (spoilers out of takeoff range) or (stabilizer trim out of takeoff range) or (rudder trim out of angle out of safe operating range for takeoff) or (aileron trim out of safe operating range for takeoff) | "NO TAKEOFF" | Advisory |
Landing Gear Horn Monitor
The landing gear horn monitor provides indication that the gear is not down during the approach/landing configuration. Activation of the monitor results in the aural "GEAR" being generated. The aural annunciation will be active as long as the condition exists. The aural is inhibited above 16,500 feet to inhibit nuisance annunciation when retarding throttles at top-of-descent (TOD).
The aural annunciation is active under the following conditions: Any gear (left, right or nose) not down and altitude less than 16,500 feet and either (less than 1,000 feet AGL and greater than 400 fpm descent rate) or [(airspeed less than 165 knots or (airspeed less than 191 knots and slats IN)) and (landing flaps selected or both throttles idle or (either throttle idle and horn mute not selected))].
The gear horn can be muted via the PBA on the landing gear panel labeled MUTED.
The gear horn will not be mutable when either less than 1,000 feet AGL and greater than 400 fpm descent rate, or landing flaps selected, or both throttles idle. Under all other cases, the horn is mutable if the horn is active.
Muting the horn results in a CAS status message GEAR HORN MUTED being generated.
Crew Alerting System Messages/Annunciation
CAS messages are displayed on right upper side of the EICAS primary display. The levels of CAS messages/annunciation are defined as follows:
- Warning messages/annunciation require immediate recognition and corrective or compensatory action by flight crew. The color red is used to designate warning messages/annunciation. A triple chime tone annunciation is generated with all warning messages, and some warnings also have associated voice annunciation.
- Caution messages/annunciation require immediate recognition and subsequent compensatory action by flight crew. The color amber is used to designate caution messages/ annunciation. A single chime tone annunciation is generated with all caution messages.
- Advisory messages/annunciation represent minor system failures which require flight crew awareness. The color cyan is used to designate advisory messages/annunciation
- Status messages/annunciation represent non-normal pilot selection. The color white is used to designate status messages/annunciation
Aural Warning
The Fault Warning Computers (FWCs) in IAC 1 and IAC 2 provide the processing and hardware interface to generate aural (voice and tone) warnings used in the cockpit. Input logic, priority refresh, and tone generation are all accomplished by the FWC. The output is connected to the audio panels which provide the cockpit speaker and headphone drive capability.
Aural warnings are generated in combination with CAS messages or other aircraft situations requiring pilot notification.The aural warning request for a voice or tone can come from any FWC, not necessarily the FWC which is actively generating the aural outputs to the audio panel.The aural warning is responsible for tone/voice generation, and is performed by the FWC in IAC 1 and IAC 2, which operate together in a priority relationship.
Aural warning tone/voice activate in sequence from highest priority to lowest priority and then repeat the sequence starting back at the highest priority. If a tone becomes enabled which has a higher priority than the tone currently being processed, the sequence restarts at the new tone once the current tone (plus half-second pause) is completed.
No tones are heard in the cockpit during power-up BIT testing. To prevent interference in the cockpit, only one aural generator is permitted to drive the output tone. Also aural warning is muted when both audio mute switches on the overhead panel are selected. Some aural warnings are muted during takeoff.
Aural Warning Relative Priority List
| ENABLE FAULT CONDITION OR LOGIC | VOICE/TONE | DURATION OR REPETITION |
|---|---|---|
| Aural Warning Test 1 | "AURAL WARNING TEST 1" | Active once |
| Aural Warning Test 2 | "AURAL WARNING TEST 2" | Active once |
| Stall Shaker Active | "STALL" | Continuous as long as condition exists |
| Overspeed | Continuous Tone | Continuous as long as condition exists |
|
On A/C post SB 700-1A11-22-001 for Global 5000 and A/C post SB 700-22-003 for Global Express/XRS: |
"EMERGENCY DESCENT" |
|
| Master Warning: any warning message displayed and unacknowledged | Triple Chime | Active once |
| Takeoff Configuration | "NO TAKEOFF"* | Continuous as long as condition exists |
| "L ENG FIRE"CAS message displayed and unacknowledged | "LEFT ENGINE FIRE”** | Continuous as long as condition exists or MASTER WARNING/CAUTION pushbutton pressed. |
| "R ENG FIRE" CAS message displayed and unacknowledged | "RIGHT ENGINE FIRE"** | Continuous as long as condition exists or MASTER WARNING/CAUTION pushbutton pressed. |
| “APU FIRE” CAS message displayed and unacknowledged | "APU FIRE"** | Continuous as long as condition exists or MASTER WARNING/CAUTION pushbutton pressed. |
| “SMOKE BAGGAGE” or “SMOKE FWD LAV” or “SMOKE AFT LAV” or “SMOKE CLOSET” CAS message displayed and unacknowledged | "SMOKE"** | Continuous as long as condition exists or MASTER WARNING/CAUTION pushbutton pressed. |
| “CABIN ALT” CAS message displayed and unacknowledged | "CABIN ALTITUDE"** | Continuous as long as condition exists or MASTER WARNING/CAUTION pushbutton pressed. |
| “MLG BAY OVHT” CAS message displayed and unacknowledged | "GEAR BAY OVERHEAT"** | Continuous as long as condition exists or MASTER WARNING/CAUTION pushbutton pressed. |
| “L REVERSER UNLKD” CAS message displayed and unacknowledged | "LEFT REVERSER UNLOCKED"** | Continuous as long as condition exists or MASTER WARNING/CAUTION pushbutton pressed. |
| “R REVERSER UNLKD” CAS message displayed and unacknowledged | "RIGHT REVERSER UNLOCKED"** | Continuous as long as condition exists or MASTER WARNING/CAUTION pushbutton pressed. |
| “NORMAL BRAKE FAIL” CAS message displayed and unacknowledged | "NORMAL BRAKE FAIL"** | Continuous as long as condition exists or MASTER WARNING/CAUTION pushbutton pressed. |
| Master Caution: any message displayed and unacknowledged | Single Chime | Active once |
| Landing Gear Horn | "GEAR" | Continuous as long as condition exists |
| AP disengaged abnormally | Triple Cavalry Charge | Continuous until acknowledged by flight crew push of AP quick disconnect switch |
| AP disengaged normally | Triple Cavalry Charge | Active once |
| A/T disengaged abnormally | "AUTOTHROTTLE" | Continuous until acknowledged by flight crew push of A/T quick disconnect switch |
| A/T disengaged normally | "AUTOTHROTTLE" | Active once |
| Altitude Alert - Departure | "ALTITUDE" | Active once |
| Altitude Alert - Capture | C Chord | Active once |
| Vertical Track Alert | Double C Chord | Active once |
| Single Chime | Single Chime | Active once |
| Trim-in-Motion | Trim Clacker | Continuous as long as condition exists |
| Decision Height and Minimum Descent Altitude | "MINIMUMS, MINIMUMS" | Active once |
| "SELCAL HF 1-2" or "SELCAL VHF 1-2-3" message displayed | "SEL-CALL, SEL-CALL"** | Active once |
*NO TAKEOFF warning will come on when aircraft is not under takeoff configuration during takeoff. They are:
|
||
| ** Aural warnings associated with CAS Messages | ||
Aural Warning Disable Panel
The aural warning system supplies warning sounds (tones) and voice messages through the audio integrating system. The aural warning switch/lights are the push-on/push-off alternate type switch. If necessary, the flight crew can remove the operation of the aural warning system by pushing the IAC 1 and the IAC 2 switch/lights on the aural warning disable panel. When the IAC is muted, the mute lamp illuminates. Muting the IAC aural warning results in the CAS status message IAC 1, 2 AURAL MUTE.
Aural Warning Prioritization
The aural warning prioritization between IAC, EGPWS, and TCAS is required so that multiple aural annunciations do not go out at the same time. This could result in aural annunciations which are not discernible. With this prioritization, the flight crew will only hear one voice at any one time. The prioritization between the systems are as follows
- "STALL"
- EGPWS aural annunciations
- TCAS aural annunciations
- IAC aural annunciations
The IAC inhibits the EGPWS and TCAS aural annunciations when "STALL" is sounding.
The EGPWS mutes the TCAS and IACs (other than STALL) when its aural annunciations are active.
The TCAS mutes the IACs (other than STALL) when its aural annunciations are active.
Lamp Dimmer Power Supply
The lamp dimmer power supply (LDPS) system supplies bright (BRT) or dim (DIM) voltage to the cockpit annunciators. The BRT/DIM switch is located on the COCKPIT LIGHTS/integral panel.
The LDPS system consists of three 28/9 VDC power supplies. Each supply is capable of 28 VDC at 3.7 amps. The BRT setting provides 28 volts for daytime viewing, and the DIM setting provides 9 volts for nighttime use.
Master Warning/Master Caution System
Master Warning and Master Caution Relays
These relays are installed on printed circuit board No. 5 of the junction box No. 4 in the avionics bay.
The secondary power distribution assembly No. 1 supplies 28 VDC to these relays. These relays are energized when FWCs output a low. The flashers are also inside the IACs. When the master warning relay is energized, the relay contacts supply a ground to both the pilot and copilot master warning lamps. When the master caution relay is energized, the relay contacts supply a ground to both the pilot and copilot caution warning lamps.
Master Warning/Caution Switch/Lights
The master WARNING and master CAUTION lights are located on both the LHS and RHS of the glareshield panel.
The master warning lights come on flashing red when any CAS warning occurs and remain on as long as the warning exists or remains unacknowledged. Pushing either master warning light supplies a ground to the IACs and extinguishes both master warning lights for the duration of the warning and resets the lights for future warnings.
The master caution lights come on flashing amber when any CAS caution occurs and remain on as long as the caution exists or remains unacknowledged. Pushing either light supplies a ground to the IACs and extinguishes both lights for the duration of the caution and resets the lights for future cautions.
Signal Interface
Aural Warning ARINC 429 Interface
EMS CDUs communicate with DAUs via ARINC 429 buses for aural warning test activation.
Discrete Signals
- Master and slave connection between two audio/tone generators to determine the active audio/tone generator
- Landing gear horn mute discrete to DAU 4
- IAC 1 (2) mute discretes to DAU 3 and DAU 4
Analog Signal
- Synthesizer audio to audio panels
Power Input
Aural warning 1 is powered by SPDA 2 battery bus. Aural warning 2 is powered by SPDA 4 DC essential bus.
05/23/16
System Test
Aural Warning Operational Test
Aural warning test can be initiated from the electrical management system control display unit (EMS CDU) test page. On the test page, AURAL WARNING TEST 1 and AURAL WARNING TEST 2 can be selected.
Activating AURAL WARNING TEST 1 on the EMS CDU, IAC 1 sounds AURAL WARNING TEST 1 followed by all voices and tones. The test will terminate when all aural warnings have been sounded.
Activating the AURAL WARNING TEST 2 on the EMS CDU, IAC 2 sounds AURAL WARNING TEST 2 followed by all voices and tones. The test will terminate when all aural warnings have been sounded.
All voice and tones operate but TCAS (Traffic Alert/Collision Avoidance System) and GPWS (Ground Proximity Warning System) do not operate.
The FWC will make sure only one aural warning test is active at a time. The FWC will terminate any aural warning test when both tests are selected at the same time.
Fault Indication
When an aural warning fault is detected by the FWC, a cyan CAS advisory message "IAC 1 (2) AURAL FAIL" is generated. When the IAC 1 (2) mute button is pushed, a while CAS status message IAC 1 (2) AURAL MUTE is generated.














