05/23/16
Overview
The electronic flight instrument system (EFIS) provides the flight crew with all the necessary display information for aircraft control and navigation. Data from various subsystems are used by the EFIS to generate the appropriate formats on the display units.
In normal operation, the EFIS system displays this information on the pilot's PFD and MFD and the copilot's PFD and MFD.
The electronic flight-instrument system (EFIS) is the aircraft integrated display system. It gives the flight crew a visual indication of data supplied by many different aircraft systems. This includes:
- Primary flight data and flight mode indications from the automatic flight control system (AFCS)
- Heading, attitude, and vertical speed data from the inertial reference system (IRS)
- Airspeed and altitude data from the air data computer system
- Engine and aircraft system data from the data acquisition system
- System failure indications from the fault warning computer (FWC) system
- Long-range navigation data from the flight management system (FMS)
- Short-range navigation data from the navigation radios
- Weather and ground-map data from the weather radar system
- Traffic data from the traffic/collision-avoidance system (TCAS)
- Lightning data from the Lightning Sensor System (LSS)
- Altitude above ground level (AGL) from the radio altimeter system (RAD ALT)
- Stall low speed awareness (LSA) display and stick pusher annunciation from the stall protection system
WX and EGPWS have dedicated display buses directly into the DUs, specifically, DU 2 and DU 5. The AFCS, EDS, and FMS are integrated within the IACs. TCAS, LSS, and LTRK have dedicated ARINC 429 inputs to the IACs for providing display information.
The display processors (DPs) in the integrated avionics computer (IAC) system collect signals from the different systems and supply digital EFIS data to the displays. Six high-level data link control (HDLC) serial busses transmit the display data from the DPs to the displays. ARINC 429 busses also go from the displays to the DPs to supply data back to the wraparound monitors.
Each IAC has two display processors that operate independently, DP 1 and DP 2. DP 1 usually operates displays on the pilot side, and DP2 operates displays on the copilot side. The DPs in IAC 3 usually supply the EICAS displays. When a DP is defective, the other DP operates the pilot's and copilot's displays. The switches on the reversion-control-panel control alternative configurations.
The line replaceable units (LRUs) for the DPs are IAC 1, IAC 2, and IAC 3. Each IAC has a cooling fan and a battery assembly. When a low battery condition occurs, a central aircraft-information maintenance-system (CAIMS) message will show on the CAIMS portable maintenance-access terminal (PMAT) and you must replace the IAC battery.
Electronic Flight Display Units
The EFIS has six electronic flight display units that are installed on the main instrument panel. A jack screw holds each display unit (DU) in amounting tray. A narrow panel held by two screws below the display gives access to the jack screw. The unit weighs 26 lbs (11.7 kg).
For maximum life of avionics equipment, with power on, operation must be limited to 30 minutes with the flight compartment or cabin temperature at or above 40 °C (104 °F). For continued operation under such conditions, you must operate the air conditioning packs or supply refrigerated (cooled) air in the cockpit to keep flight compartment temperature less than 30 °C (86 °F).
The DU has a color CRT and related display circuits that operate from a +28 VDC power supply. Because the DUs are the same internally, they are interchangeable. The position of each DU on the instrument panel sets the display function. The usual configuration is as follows:
- The two outer DUs (DU 1 and DU 6) are the primary flight displays (PFDs)
- The two adjacent DUs (DU 2 and DU 5) are the multi-function displays (MFDs)
- The two inner DUs (DU 3 and DU 4) are the EICAS displays. DU 3 usually shows engine parameters and CAS messages which is referred to as the EICAS engine display. DU 4 usually shows graphs of the aircraft primary systems which is referred to as the EICAS system display
05/23/16
Primary Flight Display (PFD)
The two PFDs provide information required for aircraft control. In normal operation, the pilot’s PFD is displayed on DU 1, and the copilot´s PFD is displayed on DU 6. In the event of a DU failure, the pilot’s and copilot’s PFDs can be reverted to DU 2 and DU 5 respectively.
All information combined in this display would normally be displayed in the same orientation in a conventional cockpit. The PFD provides the Attitude Director Indicator (ADI), Horizontal Situation Indicator (HSI), Vertical Speed Indicator (VSI), Altimeter, Airspeed Indicator and Mode Annunciation.
On A/C Pre SB 700-1A11-31-014 for Global 5000 and A/C Pre SB 700-31-030 for Global Express/XRS:
The PFD operates as an attitude director indicator (ADI) and as a horizontal situation indicator (HSI) at the same time. The PFD shows:
- The ADI sphere with the flight director command bars
- Above the ADI sphere, the flight director mode indications
- On each side of the ADI sphere, the airspeed scale, and the barometric altitude scale
- The HSI heading compass with the aircraft symbol and short-range navigation references
- The vertical speed indicator (VSI) scale
- Navigation input sources
On A/C Post SB 700-1A11-31-014 for Global 5000 and A/C Post SB 700-31-030 for Global Express/XRS:
The PFD operates as an attitude director indicator (ADI) and as a horizontal situation indicator (HSI) at the same time. The PFD shows:
- The ADI sphere with the flight director command bars
- Above the ADI sphere, the flight director mode indications
- On each side of the ADI sphere, the airspeed scale, and the barometric altitude scale. (The preselector and current altitudes always show in feet. If metric altitude is selected, the metric conversions show in a sub window below the associated altitudes.)
- Below the ADI sphere, the required navigational performance (RNP) lateral deviation scale and lateral deviation pointer, the RNP annunciation, and the RNP digital readout
- The HSI heading compass with the aircraft symbol and short-range navigation references
- The vertical speed indicator (VSI) scale
- Navigation input sources
The RNP symbology on the PFD contains the lateral deviation scale, the lateral deviation pointer, the RNP annunciation, and the RNP digital readout. The lateral deviation scale has four circles (dots) and a center tick mark. On this scale, two dots on each side of the center tick mark show the current RNP settings. Thus, the distance between the two outer dots shows two times the RNP. The currently selected RNP value shows as a digital readout to the right of the lateral deviation scale. The lateral deviation pointer triangle shows current aircraft lateral deviation with respect to the center tick mark. The horizontal line attached to the lateral deviation pointer triangle shows the current estimated position uncertainty (EPU) as an error bar. When the EPU increases, the horizontal line increases in length, and when the EPU decreases, the line decreases in length. The vertical lines (winglets) show the limits of the current EPU. The winglets show the sum of the EPU and flight technical error (FTE) specified by the lateral deviation . If the sum of the EPU and FTE is more than the current RNP limit, one of the winglets goes out of view from the scale. In this case, the white scale and the RNP limit digital readout changes to amber in color and flashes for 5 seconds then stays amber as long as the RNP limits is more than specified. When the limit is not more than specified, the color of the scale goes back to white and the digital readout goes back to its usual magenta color. The lateral navigation (LNAV) mode controls the RNP display. If LNAV is not the current lateral mode, the RNP display items do not show. If the individual RNP value is not applicable, the scale is replaced by a red “X” and the digital readout shows amber dashes. If the individual EPU value is not applicable, there is no EPU scale attached to the lateral deviation pointer.
Multifunction Display (MFD)
The two MFD is primarily a navigation display. In normal operation, the pilots MFD format is displayed on DU2, and the copilots MFD format is displayed on DU5. There is no reversion available for the MFD display formats.
The MFD provides the pilot with a variety of displays that are selected from the on-side MFD Controller. A MFD Pop-up menu is also used to control functions that are used infrequently by the flight crew.
Two basic formats are available on the MFD: a partial ARC format (MAP) display and a PLAN format (North up) display. The primary difference is the base reference or aircraft HOME position, and the display of current heading.
In the MAP format, the aircraft HOME position is fixed at the lower center of the 120 degree arc with current heading up.
In the PLAN format, the HOME position is at the center of a 360 degree display, with true North up.
Checklists and the TCAS display may be displayed in either the MAP or PLAN format.
The MFD has maps and flight plans that help navigation. The MFD shows:
- Lateral map/compass with the aircraft symbol and flight plan in relation to long-range navigation references
- TCAS traffic and advisory symbols
- Weather radar scan with lightning sensor system (LSS) indications (if optional LSS is installed)
- Vertical map with the aircraft symbol and flight plan in relation to vertical navigation references
- Air data
- Flight management system data and diagnostic data
- PFD or EICAS display data by selection on the reversion control panel
05/23/16
EICAS Displays
The EICAS engine display shows:
- Primary engine parameters, such as turbine temperature
- Secondary engine parameters, such as oil pressure and temperature
- System parameters, such as fuel quantity, gear position, and control surface positions
- Crew alerting system (CAS) messages
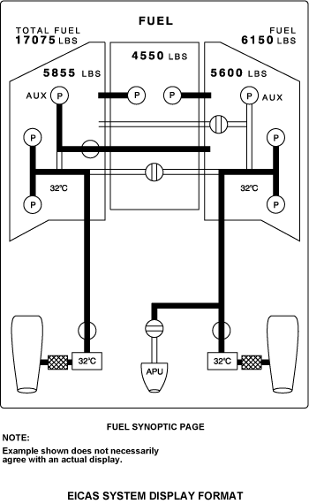
The EICAS system display shows graphs of the systems that follow:
- Bleed/Anti-Ice Air
- Air Conditioning
- Hydraulics
- Electrical AC
- Electrical DC
- Fuel
- Flight Controls
- Status
PFD Control Panels
The aircraft has two PFD control panels that are the same. They are installed in the flight compartment on the glareshield panel. Four fasteners hold each PFD control panel in its position. The PFD control panel weighs 1.23 lb (0.55 kg) and operates with a +28 VDC power supply. It has a rear interface connector that connects to the avionics system busses.
The PFD control panel has pushbuttons and knobs that:
- Set the navigation (NAV) source
- Control the display format of the PFD
The function of each button is as follows:
- BRG (Bearing) (<>) – The BRG (<>) pushbutton sets the FMS 1 as the primary NAV source. It also supplies a multiple selection of the same-side bearing sources <>
- V/L (VOR/LOC (VHF omnirange/localizer)) – The V/L pushbutton sets or cancels a VOR or instrument landing system (ILS) as the primary NAV source
- FMS (Flight Management System) – The FMS pushbutton sets the FMS as the primary NAV source. It also controls the MFD FMS selection (the MFD FMS source will be the same as the PFD FMS source)
- BRG (O) – The BRG (O) pushbutton sets the FMS 2 as the primary NAV source. It also supplies a multiple selection of the same-side bearing sources O
- HSI (Horizontal Situation Indicator) – The HSI pushbutton changes the PFD HSI as a full compass format or ARC display format
- MINIMUMS RAD/BARO – The MINIMUMS RAD/BARO knob sets or cancels the decision height values on the PFD
- BARO (Barometric) SET – The BARO SET knob sets or cancels the unit of measurement of the display value on the PFD. The IN sets the unit of measurement of the display value on the PFD to inches. The HPa sets the unit of measurement of the display value on the PFD to hectopascals. The PUSH STD (standard) pushbutton sets the standard reference to 29.92 in or 1,013 hPa
02/16/21
MFD Control Panels
The aircraft has two MFD control panels provide selection of the display format (map or plan) and other display functions. The MFD controller also acts as the interface for the PFD controller, the EICAS controller, the reversion controller, and the guidance panel with the IACs. They are installed in the flight compartment in the left and right panels of the center pedestal. Four fasteners hold each MFD control panel in its position. The MFD control panel weighs 1.86 lb (0.83 kg) and operates with a +28 VDC power supply. It has a rear interface connector that connects to the avionics system busses.
Pushbuttons are provided for the selection of the labeled information. Arrow keys provide range control for the MFD map and WX display.
The function of each button is as follows:
- TCAS (Traffic Alert/Collision Avoidance System) – The TCAS pushbutton sets or cancels a pop-up window on the MFD that contains TCAS map data and TCAS symbols
- MAP/PLAN – The MAP/PLAN pushbutton changes the display format on the MFD between the MAP or PLAN mode
- MENU – The MENU pushbutton sets or cancels the pop-up menu for set functions
- TERR - The TERR pushbutton causes or cancels the display of the terrrain awareness map data on the MFD.
- NAV/APT – The NAV/APT pushbutton causes or cancels the display of the navaid (NAV) data or airport (APT) data on the MFD
- (Range Up) – The range up pushbutton causes an increase in range to occur. If the MFD shows a maximum range this button has no effect
- (Range Down) – The range down pushbutton causes a decrease in range to occur. If the MFD shows a minimum range this button has no effect
- NORM (Normal) – The NORM pushbutton sets or cancels a pop-up window on the MFD that contains the usual checklist index.
- ABN (Abnormal) – The ABN pushbutton sets or cancels a pop-up window on the MFD that contains the unusual checklist index
- EMER (Emergency) – The EMER pushbutton sets or cancels a pop-up window on the MFD that contains the emergency checklist index
- Joystick – The joystick moves vertically and horizontally. In the MAP or PLAN mode, the joystick moves the designator symbol away from the usual reference point. In the checklist display mode, a vertical movement of the joystick moves the cursor up or down one line; a horizontal movement of the joystick moves the cursor back one page or forward one page. When the MFD shows a checklist, the joystick only controls the list; it does not control the MAP or PLAN designator symbol
- SKP (Skip) – During the MAP mode, the SKP pushbutton moves the designator symbol to the subsequent waypoint in the flight plan. During the PLAN mode, the SKP pushbutton moves the subsequent flight plan waypoint to the center of the MFD. During the checklist access, the SKP pushbutton moves the cursor down one line
- PAG (Page) – During the MAP or PLAN mode, the PAG pushbutton has no effect. During the checklist access, the PAG pushbutton moves the cursor forward through the pages
- RCL (Recall) – During the MAP mode, the RCL pushbutton moves the designator symbol back to the aircraft position. During the PLAN mode, the RCL pushbutton moves the designator symbol back to the active waypoint. During the checklist access, the RCL pushbutton moves the cursor back one line
- ENT (Enter) – During the MAP or PLAN mode, the ENT pushbutton will cause the MFD to show the latitude and longitude of the designator symbol to the scratchpad of the display. During the checklist access, the ENT pushbutton will cause the MFD to show a checklist from an index, or a checklist item
EICAS Control Panel
The EICAS control panel is installed in the flight compartment in the center pedestal. Four fasteners hold the EICAS control panel in its position. The EICAS control panel weighs 0.91 lbs (0.40 kg) and operates with a +28 VDC power supply. It has a rear interface connector that connects to the avionics system busses.
The EICAS control panel has pushbuttons and knobs that:
- Make a selection of a system synoptic page
- Make a scan of the CAS messages
The function of each button is as follows:
- BLEED – The BLEED pushbutton sets or cancels the bleed air system synoptic page
- AIR COND (Conditioning) – The AIR COND pushbutton sets or cancels the air conditioning system synoptic page
- HYD (Hydraulic) – The HYD pushbutton sets or cancels the hydraulic system synoptic page
- AC ELEC (Alternate Current Electrical) – The AC ELEC pushbutton sets or cancels the AC synoptic page
- DC ELEC (Direct Current Electrical) – The DC ELEC pushbutton sets or cancels the DC synoptic page
- FUEL – The FUEL pushbutton sets or cancels the fuel system synoptic page
- FLT CTRL (Flight Control) – The FLT CTRL pushbutton sets or cancels the flight control synoptic page
- EICAS SCROLL – The EICAS SCROLL knob lets the flight crew make a scan of all the CAS messages on the EICAS DU
- STAT (Status) – The STAT pushbutton sets or cancels the status page
- SYSTEMS SELECT – The SYSTEMS SELECT knob lets the flight crew see a system synoptic page on MFD 1, another page on the MFD 2, and another page on the EICAS system display if necessary. The knob does not set the CAS display to show on MFD 1 or MFD 2
Reversion Control Panel
The reversion controller enables the manual reversion of some display units (DUs), sensors and IAC functions. This provides the ability to maintain cockpit functionality in the event of a system failure. The top row of rotary knobs, on the reversion controller, switches the PFD and EICAS primary format from the DU, on which they are normally displayed to alternate DU positions. The PFDs can be switched to adjacent DUs only while the EICAS primary format can be displayed on DU 2, DU 4, or DU 5. The bottom row of rotary knobs allow selection of alternate IAC symbol generators to DUs, in the event of an IAC failure. Two IACs are capable of providing outputs for the six DUs, and a single IAC can provide outputs for four DUs.
The reversion control panel is installed in the center pedestal. Four fasteners hold the reversion control panel in its position. The reversion control panel weighs 1.66 lb (0.74 kg) and operates with a +28 VDC power supply. It has a rear interface connector that connects to the avionics system busses.
The reversion control panel has pushbuttons and knobs. The function of each button is as follows:
- PFD 1 – The PFD 1 knob sets normal or reversionary operation of the PFD 1. When the PFD 1 knob is in the NORM (normal) position, PFD 1 shows the PFD data. When the PFD 1 knob is in ALTN (alternate) position, MFD 1 shows the PFD data and PFD 1 is OFF
- EICAS – The EICAS knob sets normal or reversionary operation of the EICAS engine display. When the EICAS knob is in the ALT (alternate) 2 position, MFD 1 shows the EICAS data and the EICAS engine display is OFF. When the EICAS knob is in the NORM (normal) position, the EICAS engine display shows the EICAS data. When the EICAS knob is in the ALT 1 position, the EICAS system display shows the EICAS data and the EICAS engine display is OFF. When the EICAS knob is in the ALT 3 position, MFD 2 shows the EICAS data and the EICAS engine display is OFF
- PFD 2 – The PFD 2 knob sets normal or reversionary operation of the PFD 2. When the PFD 2 knob is in ALTN (alternate) position, MFD 2 shows the PFD data and PFD 2 is OFF. When the PFD 2 knob is in the NORM (normal) position, PFD 2 shows the PFD data
- IRS (Inertial Reference System) – The IRS pushbuttons change the pilot's or copilot's sensor selection between the IRS sources
- ADC (Air Data Computer) – The ADC pushbuttons change the pilot's or copilot's ADC selection between the ADC sources
- SG1 (Symbol Generator) – The SG1 knob sets normal or reversionary operation of the DPs in IAC 1
- SG3 – The SG3 knob sets normal or reversionary operation of the DPs in IAC 3
- SG2 – The SG2 knob sets normal or reversionary operation of the DPs in IAC 2
System Operation
PFD Format
The primary flight display (PFD) format can be divided into nine sections:
- ADI display
- HSI display
- Altitude display
- Airspeed display
- Vertical speed display
- Upper display annunciation area
- Center display annunciation area
- Left side display annunciation area
- Miscellaneous annunciation
Miscellaneous Annunciations
Symbol Generator Source Annunciators
Symbol generator (SG) source provides an indication to the pilot or copilot that the display processing function is controlled by an IAC that is not normally controlling this function. Selection of the SG function is controlled from three SG switches on the reversion controller.
When a SG switch is placed in the alternate (ALTN) position, SG reversion is annunciated inside the lower left corner of the attitude sphere. Any two SGs can drive all DUs in the cockpit. No annunciation is displayed on the PFDs when the SG switches are in the NORM position.
Pitch and Roll (ATT) Miscompare Annunciator
When activated, the amber ATT annunciator is displayed in the upper left corner inside the attitude sphere. If roll attitude deviates by more than 6 degree, the comparison monitor is activated. If pitch attitude deviates by more than 5 degree, the comparison monitor is activated.
Barometric Altitude (ALT) Miscompare Annunciator
The comparison monitor is activated if the altitude deviates by more than 200 feet. When activated, the amber ALT annunciator is displayed in the top portion of the altitude tape.
Glideslope and Localizer Miscompare Annunciators
When activated, the amber GS annunciator is displayed in the lower right part of the attitude sphere. The amber LOC annunciator is displayed below the marker beacon display field.
The glideslope monitor is activated for the following conditions:
- Glideslope values differ by more than 50 microamps (2/3 dot)
- LOC is the selected navigation source
The localizer monitor is activated for the following conditions:
- Localizer values differ by more than 40 microamps (approximately 1/2 dot)
- LOC is the selected navigation source
Heading (HDG) Miscompare Annunciator
When activated, the amber HDG annunciator is displayed to the left below the attitude sphere. The threshold is 10 degree for both true or magnetic heading.
Indicated Airspeed (IAS) Miscompare Annunciator
When activated, the amber IAS annunciator is displayed inside the top portion of the airspeed tape. If IAS deviates by more than 20 knots, the monitor will activate. Comparison monitoring of IAS can occur only if both of the values are above 60 knots.
Radio Altitude (RA) Miscompare Annunciator
When activated, the amber RAD annunciator is displayed in the lower center portion of the attitude sphere. For the monitor to arm, at least one radio altimeter is less than 2,500 feet. The activation threshold is defined as follows:
The difference between the two sources is equal to or exceeds (average of the 2 RAs/16) + 10 feet.
Engine Instrument and Crew Alerting System (EICAS) Miscompare Annunciator
The FWC compares engine sensor data to the display wraparound from the EICAS DU. When it detects a miscompare between the data (trip threshold: N1 = 5%, ITT = 50 degree C and EPR = 0.0675), for more than 3 seconds, it sets the miscompare message. When any one miscompare discrete is set, the amber EICAS annunciator is displayed in a box outside the bottom left of the attitude sphere.
Other Miscellaneous Annunciation
Other miscellaneous annunciation includes:
- Enhanced ground proximity warning system
- Windshear annunciation
- Stall annunciation
- PFD test annunciation
MFD Format
MFD Map Format Display
The MFD format display map mode can be divided into nine sections:
- Upper display annunciation area
- Center display annunciation area
- FMS navigation display
- Vertical profile window
- WX/LSS data window
- TCAS zoom window
- Pop-up menu
- Electronic checklist
Upper Display Annunciation Area
Symbol Generator Reversion Annunciator
When a symbol generator reversion mode is selected, the symbol generator in the IAC that is driving the MFD is annunciated at the top right of the heading readout. The symbol generator reversion annunciator is identical to PFD.
Pop-Up Menu
If more than one selection is active from display controller, the priority to determine which window is active is as follows:
- TCAS zoom window (highest)
- POP-UP menu window
- Vertical profile window (lowest)
The pop-up menu allows the flight crew to change information displayed on PFD and navigation display, source selection preference, and to view engine exceedance information.
Color Definition
| COLOR | DEFINITION |
|---|---|
| White | Title line/page number, menu selection, and menu selection’s inactive state. |
| Cyan | Cursor box and menu selection’s active state. |
| Green | Notes line |
Menu 1
Menu 1 contains menu selections that affect information displayed on the PFD and navigation display.
Menu 1 includes the following selections:
- DISTANCE/TIME to the go-to or destination waypoint
- Waypoint IDENTS on the navigation display
- VERTICAL PROFILE on the navigation display
- METRIC altitude data on the PFD
- FLIGHT DIRECTOR aircraft symbol (single cue or cross pointer)
Menu 2
Menu 2 contains the following systems to be selected:
- Flight guidance computers
- Autothrottle computers
Menu 3
Menu 3 contains the engine exceedance data information and is only available when the aircraft is on the ground. The presented data on the exceedance display are as follows:
- Date of the exceedance
- Time of the exceedance
- Maximum L-R EEC high-pressure compressor speed (N2)
- Maximum L-R EEC low-pressure compressor speed (N1)
- Maximum L-R EEC interturbine temperature (ITT)
- Maximum L-R EEC oil pressure (Oil P)
- Maximum L-R EEC oil temperature (Oil T)
- Maximum L-R display N1 vibration (N1 VIB)
- Maximum L-R display N2 vibration (N2 VIB)
- Source of the event that triggered the exceedance
The "NO EXCEEDANCE RECORDED" is displayed when no exceedance data is available or when a failure has occurred such that the EDS is unable to access the data. Exceedance data is stored in the IAC and can be retrieved by an IAC NVM download.
Engine Trend Data
Engine trend data is stored in the IACs along with engine exceedance data. An engine trend data file is a snapshot of engine performance data and up tothree snapshots of engine trend data are recorded on each flight. A maximum of 150 engine trend events may be stored.
Trend 1: 8 seconds after takeoff
Trend 2: > 30,000 ft and ≤ 42,000 ft for 45 seconds
Trend 3: > 42,000 ft, > 0.78 Mach for 45 seconds 30 seconds after Trend 2. The parameters of the engine trend data file recorded in the IACs are as follows:
- L-R EEC interturbine temperature (ITT)
- L-R EEC fuel flow (FF)
- L-R EEC high-pressure compressor speed (N2)
- L-R EEC low-pressure compressor speed (N1)
- L-R EEC oil temperature
- L-R EEC oil pressure
- L-R EPR command
- L-R EPR actual
- Display L-R N1 vibration
- Display L-R N2 vibration
- L-R EEC P30 burner pressure
- L-R EEC T30 validated
- L-R Mach
- L-R EEC airframe input echo 1
- L-R EEC airframe input echo 2
- Discrete data
- L-R pressure altitude
- L-R total pressure
- L-R total air temperature
- L-R EEC TRA validated
- L-R EEC EPR takeoff
- Time
- Date
- Aircraft serial number
Monitored Parameters Exceedance Enable/Disable
| PARAMETER | ENABLING CONDITION | DISABLING CONDITION |
|---|---|---|
| L-R EEC N1 Transient Limit Exceed | Exceeded | Not Exceeded |
| l-R EEC N1 Red Line Exceed | Exceeded (Debounced 20 sec. on) | Not Exceeded |
| L-R EEC N2 Transient Limit Exceed | Exceeded | Not Exceeded |
| L-R EEC N2 Red Line Exceed | Exceeded (Debounced 20 sec. on) | Not Exceeded |
| L-R EEC ITT Transient Limit Exceed | Exceeded | Not Exceeded |
| L-R EEC ITT Red Line Exceed | Exceeded (Debounced 20 sec. on) | Not Exceeded |
| Left ITT Amber Line Exceed | Exceeded | Not Exceeded |
| Right ITT Amber Line Exceed | Exceeded | Not Exceeded |
| L-R EEC ITT Start Red Line Exceed | Exceeded (Debounced 20 sec. on) | Not Exceeded |
| L-R EEC Oil Pressure Below Red Line | Exceeded (Debounced 10 sec. on) | Above Red Line Limit |
| L-R EEC Oil Temp Hi Red Line Exceed | Exceeded (Debounced 15 sec. on) | Not Exceeded |
| L-R EEC Turbine Overheat | Turbine Overheat Detected | Normal |
| L-R EEC FADEC Overheat | EEC Overheat Detected | Normal |
| Display Left N1 Vibration | ≥1.0 IPS | <1.0 IPS |
| Display Left N2 Vibration | ≥ 1.0 IPS | <1.0 IPS |
| Display Right N1 Vibration | ≥ 1.0 IPS | <1.0 IPS |
| Display Right N2 Vibration | ≥ 1.0 IPS | <1.0 IPS |
Electronic Checklist
With either the MAP or PLAN modes, the checklist can be selected via MFD controller. The checklist is displayed in the pop-up window area in the lower portion of the MAP or PLAN display. There are three sets of checklists installed on the aircraft and they are:
- Normal checklist
- Abnormal checklist
- Emergency checklist
- The electronic checklist may be loaded by the user directly into the IAC
All three IACs need to be loaded with the same electronic checklist data. The checklist window is selected on one MFD at a time. The second MFD can be selected for checklist display only if the first MFD has deselected the checklist function.
Checklist Color Definitions
| COLOR | DEFINITION |
|---|---|
| White | Cursor box |
| Cyan | Default incomplete item or procedure |
| Green | Complete item or procedure |
| Magenta | "Checklist Unavailable" message |
| Magenta | "Emergency Procedure Complete" message |
| Magenta | "Abnormal Procedure Complete" message |
| Green | All Disclaimer text |
| White | Default Header text/page numbers |
| White | "From" waypoint (line no. 2) |
| Green | "To" waypoint (line no. 3) |
| White | Additional waypoints (line no. 4 - no. 11) |
| Green | Present Position (line no. 12) |
Checklist Programming
The checklist is created, using a "Programmable Electronic Checklist " program available from Honeywell. This is a DOS-based program that enables the user to read, erase, program and check the status of a checklist, using a personal computer (PC) and an RS 232 interface.
Honeywell also recommends service providers who provide more user-friendly tools to install and maintain the electronic checklists.
MFD Plan Format Display
The MFD format is toggled between MAP and PLAN through the MFD MAP/PLAN pushbutton on the onside MFD controller. The plan mode is North-up heading presentation of the active flight plan. The active waypoint is displayed in magenta. The track lines are oriented to true north. A range ring, showing the selected display range is centered about the active waypoint. The aircraft symbol is always located at the present position and is oriented to present heading.
The following are the symbols and displays:
- Wind display
- Navigation waypoint data
- SAT/TAT/TAS/GSPD display
- Designator lat/long data
- Designator bearing/distance data
- Navigation source annunciator
- Waypoint symbol/identifier
- Navigation aid symbol
- Symbol generator reversionary annunciator
- Vector profile display
The differences in symbols and displays between the MAP and PLAN are:
- True North annunciator
- Aircraft symbol
- Range ring
True North Annunciator
The plan mode is always displayed in a true Northup heading format. True North is indicated in the upper left corner with an upward pointing. Above the arrow, a TRU annunciation is displayed. The annunciation and the arrow are in white.
Aircraft Symbol
The yellow aircraft symbol moves around the display area as a function of present position. The aircraft symbol is a visual cue as to the aircraft position in relation to true North and the active flight plan.
Range Ring
A white range circle radius corresponds to the MFD selected range.
05/23/16
System Interface
The aircraft systems that have interface with the EFIS include:
- Engine Indication and Crew Alerting System (EICAS)
- Fault Warning Computer System
- Inertial Reference System (IRS)
- Air Data Computer System
- Traffic/Collision Avoidance System (TCAS)
- Weather Radar System
- Lightning Sensor System (Optional)
- Radio Systems
Signal Interface
The IACs gather all display information from ASCB bus and display that information on DUs via the HDLC buses. From the DUs, ARINC 429 interface wraparounds are connected to IACs for monitor purposes. The weather radar provides radar video via the weather radar picture data bus (WRPD) to DUs 2 and 5. The EGPWS provides terrain video via an ARINC 453 data bus to DUs 2 and 5.
Power Input
DU 1 (pilot’s PFD) is powered by SPDA4, DC essential bus. DU 2 (pilot’s MFD) is powered by SPDA 1, DC essential bus. DU 5 (copilot’s MFD) is powered by SPDA 4, DC bus 2. DU 6 (copilot’s PFD) is powered by SPDA 1, DC bus 2.
System Test
09/09/20
Component Location Index
| Component Location Index | |||
|---|---|---|---|
| IDENT | DESCRIPTION | LOCATION | IPC REF |
| M10/M11/M12/M7/M8/M9 | ELECTRONIC FLIGHT DISPLAY UNIT | ZONE(S) 220 | 31-61-01 [ GX ] [ GXRS ] [ G5000 ] |
| A81/A82 | PFD CONTROL PANEL | ZONE(S) 220 | 31-61-05 [ GX ] [ GXRS ] [ G5000 ] |
| A133/A134 | MFD CONTROL PANEL | ZONE(S) 220 | 31-61-09 [ GX ] [ GXRS ] [ G5000 ] |
| A173 | EICAS CONTROL PANEL | ZONE(S) 220 | 31-61-13 [ GX ] [ GXRS ] [ G5000 ] |
| A132 | REVERSION CONTROL PANEL | ZONE(S) 221 | 31-61-17 [ GX ] [ GXRS ] [ G5000 ] |























