Overview
The strobe lights system provides the aircraft position and direction in relation to other aircraft at a distance. The system comprises five strobe lights that operate independently. Each light has its own power supply. The BEACON switch located on the EXTERNAL LIGHTS control panel in the flight compartment control the strobe lighting.
Warning :
Allow at least two minutes after operation before disconnecting any strobe power supply to avoid high voltage electrical shock.
Beacon lights are fuselage-mounted. The lights are located such that their flashes will not impair the vision of the pilots or detract from the visibility of the navigation lights.
Upper and lower fuselage red and white beacon lights are provided. The red beacon lights system is generally used for ground operation (instead of the white beacon lights) since it minimizes the unfavorable effects on the vision of the crew or on personnel outside the aircraft during ground handling. The red/white beacon lights are shaped to minimize aerodynamic drag.
The white anti collision strobe lights are located on each wing tip next to the navigation lights and at the aft extremity of the aircraft. The flashing of the three white strobe lights is synchronized and simultaneous. The STROBE switch located on the EXTERNAL LIGHTS control panel controls the strobe lights via the strobe lights power supplies located in the wingtips and aft equipment bay.
Wing Strobe Lights
The wing strobe light is contained in a box shaped housing with a xenon flash tube and lens. There are two wing strobe lights installed in the wing tips and are attached to the aircraft structure with four screws. Each strobe light has a power supply installed near the strobe light on each wing. The power supply supplies high voltage pulses to the strobe light through a special cable.
05/13/16
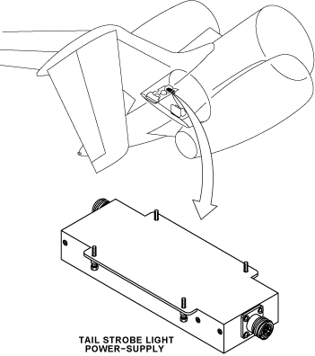
Tail Strobe Light
The tail strobe light is contained in a housing and a lens with a xenon flash tube and the 28 volt secondary tail navigation light. The tail strobe light is installed at the end of the tail cone, and is attached to the aircraft structure with four screws. The power supply for the strobe light is found in the aft equipment compartment. The power supply supplies the tail strobe light with high voltage pulses and the secondary tail navigation light with 28 VDC. On A/C Post SB 700-33-023 for Global Express/XRS, or on A/C SB 700-1A11-33-008 for Global 5000, the power supply for the tail strobe light is disconnected and the light will be non-functional.
05/13/16
Fuselage Strobe/Anticollision (Beacon) Lights
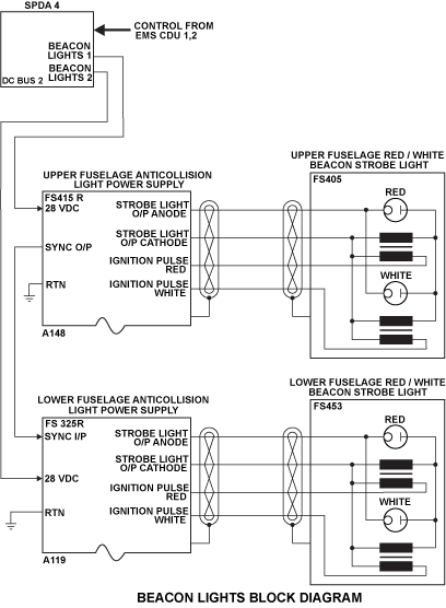
The red/white anticollision beacon lights are located at the top and bottom of the fuselage. The flashing of the two, red/white beacon lights is synchronized and simultaneous.
The BEACON switch located on the EXTERNAL LIGHTS control panel controls the beacon lights via the beacon lights power supplies located in the avionics compartment.
The fuselage strobe/anticollision light is contained in a housing with a xenon flash tube and glass lens. There are two fuselage strobe/anticollision lights installed in the aircraft. The upper strobe light is installed between STA 365.00 and STA 381.00 on Global Express/XRS and at STA 405.00+32.00 on Global 5000. The lower strobe light is installed between STA 445.00 and 461.00 on Global Express/XRS and at STA 405.60+32.00 on Global 5000 on the forward fuselage. Each strobe light has a power supply that supplies high voltage pulses to the strobe lights. The strobe lights can flash red or white.
Note:
On aircraft 9003 and post Service Bulletin 700-28-037 on Global Express/XRS, the lower strobe/anticollision light is installed at FS404.00.
05/13/16
Power Supplies
The power supplies supply high voltage pulses to the aircraft strobe/anticollision lights.
There are five power supplies, each power supply contains a power conversion and energy storage circuit, and a timing circuit. The power conversion and energy storage circuit changes the 28 VDC aircraft supply to approximately 400 V to supply the timing circuit. The timing circuit makes trigger pulses at a frequency of approximately 1 Hz to the strobe lights.
Wing/Tail Strobe-Light Power-Supplies
The wing/tail strobe-light power-supplies each have two external connectors and a mounting flange with four captive screws that attach them to the aircraft. The power-supply for the tail strobe-light is installed in the aft equipment compartment. The power-supplies for the wing strobe-lights are installed in each winglet near to the wing strobe-lights.
Fuselage-Strobe/Anticollision Light Power-Supplies
The fuselage-strobe/anticollision light power-supplies have two external connectors and a mounting flange with four captive screws that attach them to the aircraft. The power-supply for the strobe/anticollision lights are installed in the avionics compartment.
System Operation
The anticollision lights system is controlled by the STROBE and BEACON lights switches on the EXTERNAL LIGHTS control panel.
Upper and lower beacon strobe lights power supplies are connected to 28 VDC BUS 2, SPDA #3. Wing and tail-cone strobe lights power supplies are connected to 28 VDC Bus 1, SPDA #3.
The STROBE switch located on the EXTERNAL LIGHTS control panel, supplies power from 28 VDC BUS 1, SPDA #3 to the strobe lights power supplies to operate the lights.
Selecting the BEACON switch located on the EXTERNAL LIGHTS control panel, to WHT or RED, supplies power from 28 VDC BUS 2, SPDA #4 to the beacon lights power supply to operate the selected color lights.
09/15/20
Component Location Index
| Component Location Index | |||
|---|---|---|---|
| IDENT | DESCRIPTION | LOCATION | IPC REF |
| DS67 | WING STROBE LIGHT (LEFT) | ZONE(S) 550 | 33-43-01 [ GX ] [ GXRS ] [ G5000 ] |
| DS66 | WING STROBE LIGHT (RIGHT) | ZONE(S) 650 | 33-43-01 [ GX ] [ GXRS ] [ G5000 ] |
| DS68 | TAIL STROBE LIGHT | ZONE(S) 323 | 33-43-05 [ GX ] [ GXRS ] [ G5000 ] |
| DS65 | FUSELAGE STROBE/ANTICOLLISION LIGHT (LOWER) | ZONE(S) 140 | 33-43-09 [ GX ] [ GXRS ] [ G5000 ] |
| DS64 | FUSELAGE STROBE/ANTICOLLISION LIGHT (UPPER) | ZONE(S) 230 | 33-43-09 [ GX ] [ GXRS ] [ G5000 ] |
| A127/A141/A142 | WING/TAIL STROBE-LIGHT POWER-SUPPLIES | ZONE(S) 310/542/642 | 33-44-01 [ GX ] [ GXRS ] [ G5000 ] |
| A119/A148 | FUSELAGE-STROBE/ANTICOLLISION LIGHT POWER-SUPPLIES | ZONE(S) 142 | 33-44-05 [ GX ] [ GXRS ] [ G5000 ] |















