03/02/21
Message Overview:
Message Name:
ACPC RS422 RECEIVE (GCU4) FAULT
Message Code:
2424176LPS
Associated CAS:
| Reporting LRU: | AC Power Center (ACPC) |
| System Description: | 24-21-00 |
| Schematic Diagram: | 24-21-00 [ Global Express ] [ G5000 ] [ Global XRS ] |
| Wiring Diagram: | 24-21-04 [ Global Express ] [ G5000 ] [ Global XRS ] |
Message Description:
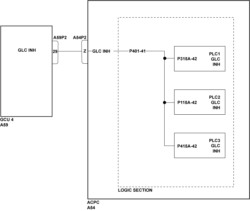
AC Power Center (ACPC) senses a RS422 communication failure from the Generator Control Unit (GCU) 4.
Possible Causes:
- AC Power Center (ACPC) (A54)
- Generator Control Unit (GCU) 4 (A59)
- Primary Logic Card (PLC) 1
- Associated Wiring
Troubleshooting Tips:
Advisory Wire/Service Bulletin: None
Forum Articles/Infoservice/Newsletter: None
Notice To Operators (NTO): None
Flight Operation Notifications Manual (FONM): None
Quick Links:
| Removal of the Generator Control Units (GCU) | AMM 24-24-01-000-801 [ Global Express ] [ G5000 ] [ Global XRS ] |
| Installation of the Generator Control Units (GCU) | AMM 24-24-01-400-801 [ Global Express ] [ G5000 ] [ Global XRS ] |
| Removal of the AC Power Center (ACPC) | AMM 24-51-00-000-801 [ Global Express ] [ G5000 ] [ Global XRS ] |
| Installation of the AC Power Center (ACPC) | AMM 24-51-00-400-801 [ Global Express ] [ G5000 ] [ Global XRS ] |
| Removal of the AC Power Center (ACPC) Primary Logic | AMM 24-51-09-000-801 [ Global Express ] [ G5000 ] [ Global XRS ] |
| Installation of the AC Power Center (ACPC) Primary Logic | AMM 24-51-09-400-801 [ Global Express ] [ G5000 ] [ Global XRS ] |
| Wire Repair - Maintenance Practices - ALL | SPM 20-12-10-02 [ Global Express ] [ G5000 ] [ Global XRS ] |
| AC Power Center Component Maintenance Manual | CMM 24-51-02 [ Global Express ] [ G5000 ] [ Global XRS ] |
Troubleshooting Recommendations:
CAUTION: To prevent damage to the ACPC Mother Board connectors, ensure that the jumper wire pins Outside Diameter (OD) does not exceed 0.025 inch.
- Interchange GCU 4 with GCU 3.
- If system checks are good, replace GCU 4 and do close out.
- If fault remains, continue with next step.
- Interchange ACPC Primary Logic Card 1 with ACPC Primary Logic card 2.
- If system checks are good, replace ACPC Primary Logic card 1 and do close out.
- If fault remains, continue with next step.
- Perform wiring check between GCU 4, ACPC and P401.
- If wiring checks are not good, repair defective wiring as required and do close out.
- If wiring checks are good, continue with next step.
NOTE: Disconnect GCU 4 connector and remove ACPC PLC 1 to measure for short/open circuit.
- Replace ACPC.
- Do close out.
