03/03/21
Message Overview:
Message Name:
APUGCU [APUGCU/ACPC/XFER_INH_SENS_FAULT/SMOKE]
Message Code:
2420130LPS
Associated CAS:
| Reporting LRU: | Auxiliary Power Unit Generator Control Unit (APU GCU) |
| System Description: | 24-22-00 |
| Schematic Diagram: | 24-22-00 [ Global Express ] [ G5000 ] [ Global XRS ] |
| Wiring Diagram: | 24-22-01 [ Global Express ] [ G5000 ] [ Global XRS ] |
Message Description:
The Transistor (TR) 2 open circuit monitor channel F1 was detected out of limit by the Auxiliary Power Unit Generator Control Unit (APU GCU) internal initiated Built-In Test.
Possible Causes:
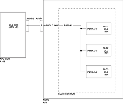
- Auxiliary Power Unit Generator Control Unit (APU GCU) (A109)
- AC Power Center (ACPC) (A54)
- Primary Logic Card (PLC) 1
- Primary Logic Card (PLC) 2
- Primary Logic Card (PLC) 3
- Associated Wiring
Troubleshooting Tips:
Advisory Wire/Service Bulletin: None
Forum Articles/Infoservice/Newsletter: None
Notice To Operators (NTO): None
Flight Operation Notifications Manual (FONM): None
NOTE: If the fire handle has been activated, then this is not a fault, disregard this fault message.
A GCU patch cable (GSE REF # 24X-24-02) can be used to interchange GCUs 1, 4 and 5 into position 2 or 3 (for troubleshooting only).
The GCU NVMs can only be downloaded at position #2 or #3.
Quick Links:
| Removal of the Generator Control Units (GCU) | AMM 24-24-01-000-801 [ Global Express ] [ G5000 ] [ Global XRS ] |
| Installation of the Generator Control Units (GCU) | AMM 24-24-01-400-801 [ Global Express ] [ G5000 ] [ Global XRS ] |
| Removal of the AC Power Center (ACPC) | AMM 24-51-00-000-801 [ Global Express ] [ G5000 ] [ Global XRS ] |
| Installation of the AC Power Center (ACPC) | AMM 24-51-00-400-801 [ Global Express ] [ G5000 ] [ Global XRS ] |
| Removal of the AC Power Center (ACPC) Primary Logic | AMM 24-51-09-000-801 [ Global Express ] [ G5000 ] [ Global XRS ] |
| Installation of the AC Power Center (ACPC) Primary Logic | AMM 24-51-09-400-801 [ Global Express ] [ G5000 ] [ Global XRS ] |
| Wire Repair - Maintenance Practices - ALL | SPM 20-12-10-02 [ Global Express ] [ G5000 ] [ Global XRS ] |
Troubleshooting Recommendations:
- Interchange APU GCU with GCU#2.
- If the system checks are good, replace the APU GCU and do close out.
- If the fault remains, continue with next step.
- Interchange PLC #1.
- If system checks are good, replace PLC #1 and do close out.
- If the fault remains, re-install PLC #1 and continue with next step.
- Interchange PLC #2.
- If system checks are good, replace PLC #2 and do close out.
- If the fault remains, re-install PLC #2 and continue with next step.
- Interchange PLC #3.
- If system checks are good, replace PLC #3 and do close out.
- If the fault remains, re-install PLC #3 and continue with next step.
- Remove PLC #1, PLC #2, PLC #3.
- Disconnect connector A109P2 and perform continuity checks between APUGCU and ground.
From To Result A109P2-29 Ground - If there is continuity, replace the defective wiring as required and do close out.
- If there is no continuity, continue with next step.
- Disconnect connector A54P4 and perform continuity checks between ACPC and ground.
From To Result A54P4-Z Ground - If there is continuity, replace the defective wiring as required and do close out.
- If there is no continuity, continue with next step.
- Replace ACPC.
- Do close out.



