09/27/19
Message Overview:
Fault Message:
L SAV FAILURE
Fault Code:
7326120LBR
Associated CAS:
| Reporting LRU: | Left Engine Electronic Controller (EEC) |
| System Description: | 80 -11-00 |
| Schematic Diagram: | 80-11-00 [ Global Express ] [ G5000 ] [ Global XRS ] |
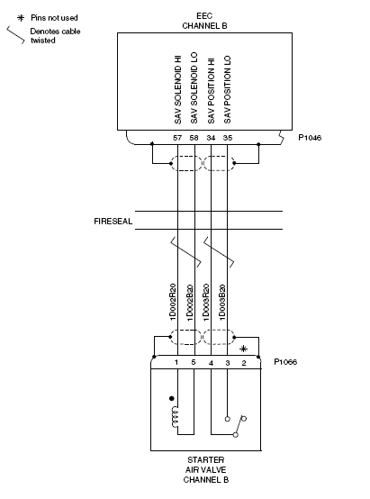
| Wiring Diagram: | 71-50-01 [ Global Express ] [ G5000 ] [ Global XRS ] 80-11-01 [ Global Express ] [ G5000 ] [ Global XRS ] |
Fault Description:
The fault message is set when:
- The Full-Authority Digital Engine-Controller (FADEC) cannot operate the Starter Air Valve (SAV) correctly
- At the same time, the signals from channel A and channel B of the SAV are the same
Possible Causes:
- Starter Air Valve (SAV)
- Left Engine Electronic Controller (EEC)
- Associated Wiring
Troubleshooting Tips:
Advisory Wire/Service Bulletin: None
Forum Articles/Infoservice/Newsletter: None
- Both CH A and CH B SAV solenoid circuits faults must be detected to set the L ENG SAV FAIL (Caution) CAS message
Quick Links:
| Opening of the Cowls | AMM 71-10-00-010-801 [ Global Express ] [ G5000 ] [ Global XRS ] |
| Closing of the Cowls | AMM 71-10-00-410-801 [ Global Express ] [ G5000 ] [ Global XRS ] |
| Removal of the Eng Electronic Controller (EEC) Mod 73-101559 |
EMM 73-21-01-000-801-B00 [ Global Express ] [ G5000 ] [ Global XRS ] |
| Installation of the Eng Electronic Controller (EEC) Mod 73-101559 |
EMM 73-21-01-400-801-B001 [ Global Express ] [ G5000 ] [ Global XRS ] |
| Removal of the Starter Air Valve | EMM 80-11-03-000-801 [ Global Express ] [ G5000 ] [ Global XRS ] |
| Installation of the Starter Air Valve | EMM 80-11-03-400-801 [ Global Express ] [ G5000 ] [ Global XRS ] |
| Wire Repair - Maintenance Practices - ALL | SPM 20-12-10-02 [ Global Express ] [ G5000 ] [ Global XRS ] |
Troubleshooting Recommendations:
- Perform wiring checks between SAV and EEC.
- If wiring checks are not good, repair defective wiring as required and do close out.
- If wiring checks are good, continue with next step.
- Swap SAV between engines.
- If system checks are good, replace defective SAV and do close out.
- If fault remains, continue with next step.
- Replace Left EEC.
- Do close out.

